授权公布号:CN212891219U
一种用于阀口袋开袋的机械手
有效
申请
2020-07-22
申请公布
1970-01-01
授权
2021-04-06
预估到期
2030-07-22
| 申请号 | CN202021463837.7 |
| 申请日 | 2020-07-22 |
| 授权公布号 | CN212891219U |
| 授权公告日 | 2021-04-06 |
| 分类号 | B65B43/30 |
| 分类 | 输送;包装;贮存;搬运薄的或细丝状材料; |
| 申请人名称 | 川崎机器人(天津)有限公司 |
| 申请人地址 | 天津市滨海新区经济技术开发区新环西路19号6号楼一、二层 |
专利法律状态
2021-04-06
授权
状态信息
授权
摘要
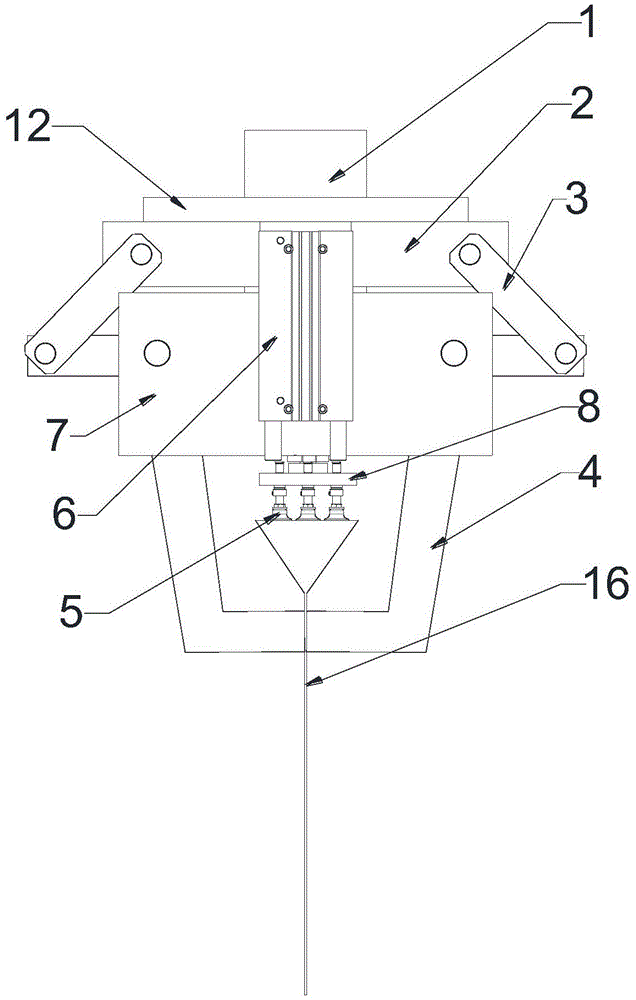
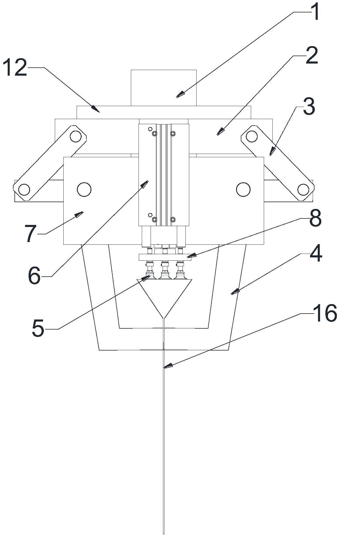
本实用新型公开了一种用于阀口袋开袋的机械手,包括与外部的机器人连接的连接架、安装在连接架上的用于抓取阀口袋顶部的吸盘机构和用于夹紧阀口袋的中部两侧的抱夹机构,抱夹机构包括驱动气缸和受驱动的抱夹组件,抱夹组件包括驱动板、驱动臂和抱爪,驱动气缸安装在连接架远离吸盘机构的一侧,驱动气缸的输出轴与驱动板连接,驱动板上对称安装两个驱动臂,每个驱动臂的一端与驱动板铰接,另一端与抱爪的顶端铰接,且该抱爪的前部与连接架铰接,两个驱动臂上对应连接的两个抱爪相对设置。通过吸盘机构吸住阀口袋的顶部,抱夹机构夹紧阀口袋的中部两侧,而后气缸控制吸盘将阀口袋的顶部向上拉起,而撑开阀口袋的开口,开袋操作简单,自动化程度高。


