授权公布号:CN217453981U
一种用于高速摄影装置的机械臂
有效
申请
2022-05-16
申请公布
1970-01-01
授权
2022-09-20
预估到期
2032-05-16
| 申请号 | CN202221165640.4 |
| 申请日 | 2022-05-16 |
| 授权公布号 | CN217453981U |
| 授权公告日 | 2022-09-20 |
| 分类号 | B25J18/00;G03B17/56 |
| 分类 | 手动工具;轻便机动工具;手动器械的手柄;车间设备;机械手; |
| 申请人名称 | 川崎机器人(天津)有限公司 |
| 申请人地址 | 天津市滨海新区经济技术开发区信环西路19号6号楼6101/6201/6202/6203 |
专利法律状态
2022-09-20
授权
状态信息
授权
摘要
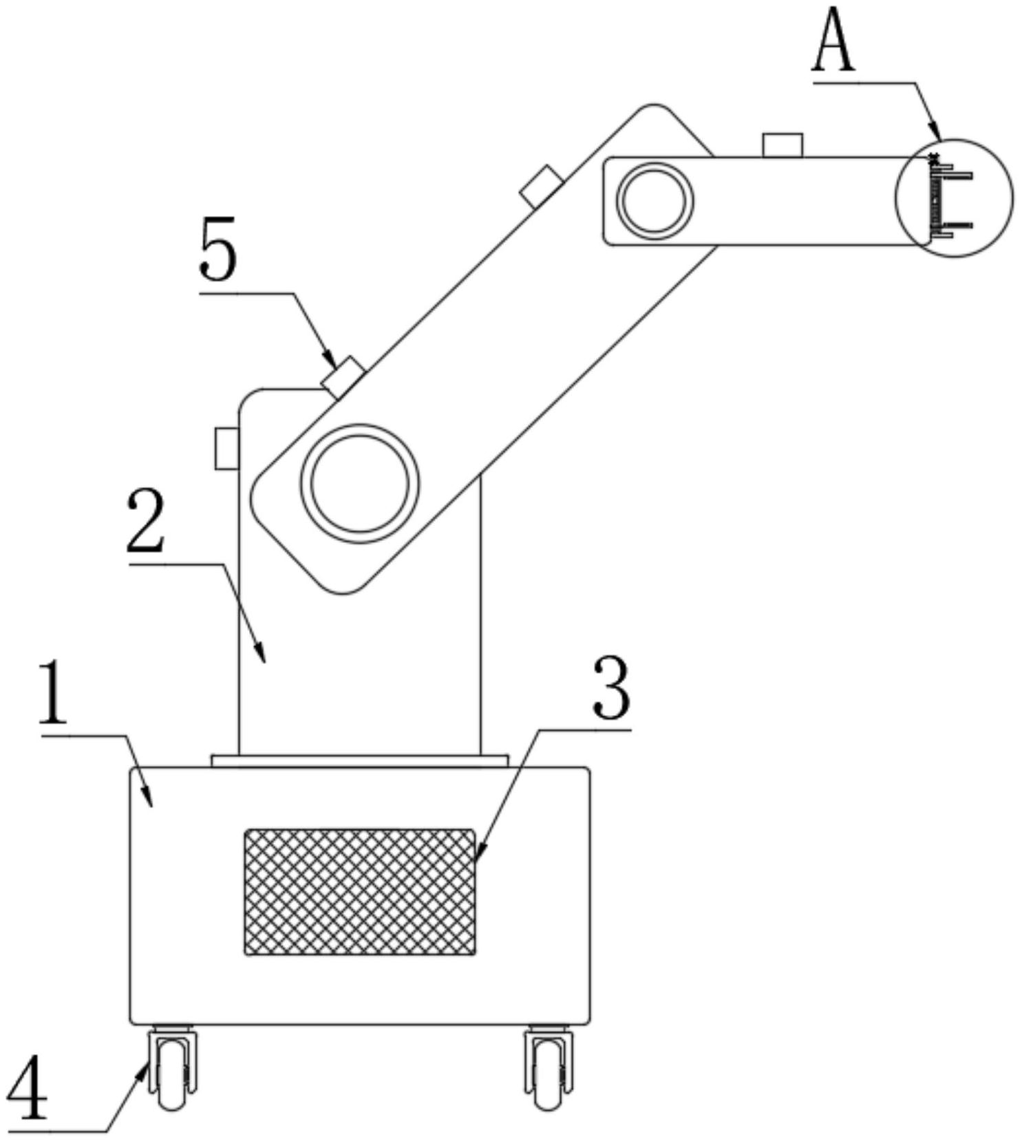
本实用新型公开了一种用于高速摄影装置的机械臂,包括底座,所述底座的上端安装有机械臂本体,所述机械臂本体包括多个转动臂,位于右侧的转动臂上固定连接有两个安装块,两个所述安装块之间转动连接有双头螺纹杆,两个所述安装块之间固定连接有导向杆,所述双头螺纹杆上对称螺纹连接有两个移动块,所述导向杆均贯穿两个移动块,两个所述移动块的侧壁上均安装有橡胶垫。该装置通过设置电动滚轮,便于装置移动至指定的位置,同时通过设置驱动电机和双头螺纹杆等结构,能够快速固定或者是松开摄像机,相比较传统的螺钉固定,安装效率更高,设置的安装框和滤网组件等结构,能够快速的对滤网组件进行拆卸清理,提高了后期的维护效率。


