授权公布号:CN115744836B
一种基于电池原理的阳极保护分酸器
有效
申请
2022-09-19
申请公布
2023-03-07
授权
2024-02-20
预估到期
2042-09-19
| 申请号 | CN202211134438.X |
| 申请日 | 2022-09-19 |
| 申请公布号 | CN115744836A |
| 申请公布日 | 2023-03-07 |
| 授权公布号 | CN115744836B |
| 授权公告日 | 2024-02-20 |
| 分类号 | C01B17/80;B01D53/18;C23F13/06 |
| 分类 | 无机化学; |
| 申请人名称 | 天华化工机械及自动化研究设计院有限公司 |
| 申请人地址 | 甘肃省兰州市西固区合水北路三号 |
专利法律状态
2024-02-20
授权
状态信息
授权
2023-03-24
实质审查的生效
状态信息
实质审查的生效;IPC(主分类):C01B17/80;申请日:20220919
2023-03-07
公布
状态信息
公布
摘要
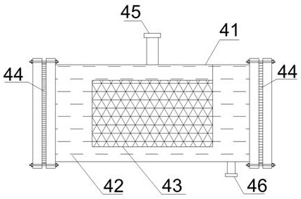
一种基于电池原理的阳极保护分酸器,包括分酸槽,每个分酸槽内至少安装一个高电位电解槽,该高电位电解槽包括壳体及其两侧密封安装的质子交换膜构成电解槽的外壳,该外壳内充满内电解液并设置有内丝网或内孔板;所述外壳的上部设有注液口,下部设有排污口。本发明提供了一种新的阳极保护形式,无需电连接至塔外,无需塔体开孔及密封,无需外接恒电位仪;使阳极保护分酸器的安装、使用、维护得以大幅简化,具有更好的工业应用效果。


