授权公布号:CN220514114U
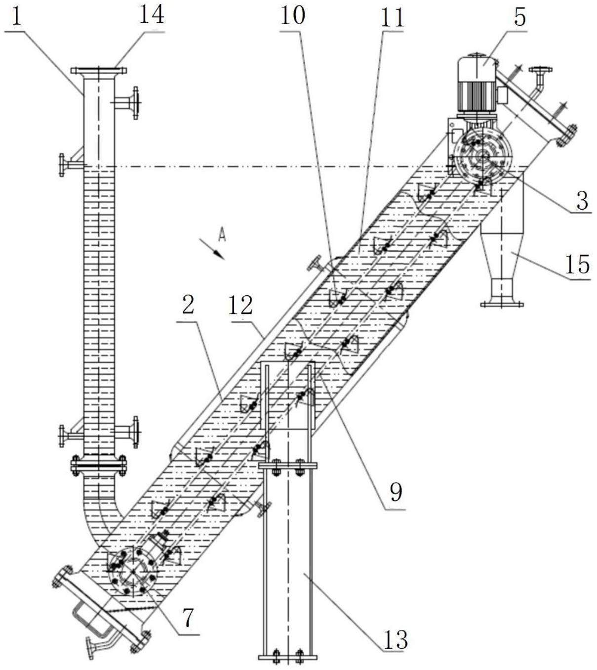
可承压密封式铝粒进料器
有效
申请
2023-06-28
申请公布
1970-01-01
授权
2024-02-23
预估到期
2033-06-28
| 申请号 | CN202321668156.8 |
| 申请日 | 2023-06-28 |
| 授权公布号 | CN220514114U |
| 授权公告日 | 2024-02-23 |
| 分类号 | B01J4/00 |
| 分类 | 一般的物理或化学的方法或装置; |
| 申请人名称 | 天华化工机械及自动化研究设计院有限公司 |
| 申请人地址 | 甘肃省兰州市西固区合水北路3号 |
专利法律状态
2024-02-23
授权
状态信息
授权
摘要
本实用新型提供了一种可承压密封式铝粒进料器,所述铝粒进料器包括:进料管,所述进料管竖直布置;斜置承压壳体,所述进料管与所述斜置承压壳体连接;主动轴,所述主动轴安装于所述斜置承压壳体上方,贯穿斜置承压壳体,其中,所述主动轴两端分别安装有相同的机械密封结构。本实用新型提供的可承压密封式铝粒进料器采用机械密封保证斜置承压壳体的承压密封性;采用钢带料斗组合式输送结构保证铝粒输送完全,不易漏料和架桥;采用己醇液封保证铝料输送过程中不与外界空气接触,并保证铝料在后续反应时不与空气接触,同时保证后续反应生成的氢气不泄露。


