授权公布号:CN220552245U
一种蒸汽回转干燥机蒸汽加热系统
有效
申请
2023-08-03
申请公布
1970-01-01
授权
2024-03-01
预估到期
2033-08-03
| 申请号 | CN202322070029.4 |
| 申请日 | 2023-08-03 |
| 授权公布号 | CN220552245U |
| 授权公告日 | 2024-03-01 |
| 分类号 | F26B21/00;F28D7/16;F26B25/00 |
| 分类 | 干燥; |
| 申请人名称 | 天华化工机械及自动化研究设计院有限公司 |
| 申请人地址 | 甘肃省兰州市西固区合水北路3号 |
专利法律状态
2024-03-01
授权
状态信息
授权
摘要
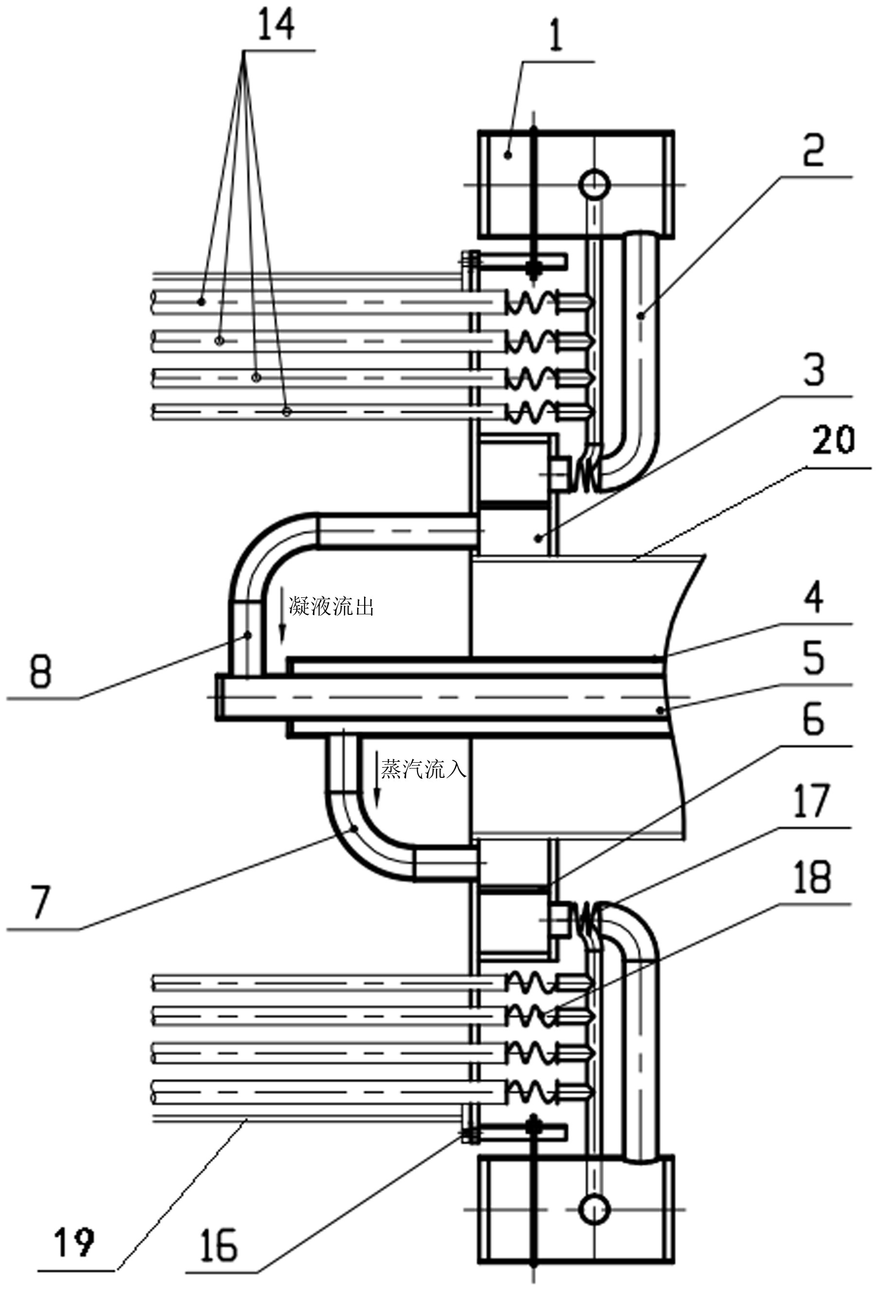
一种蒸汽回转干燥机蒸汽加热系统,包括干燥机筒体、出料系统、换热管、凝液流出中心管、汇水腔和汽室,换热管设置在干燥机筒体内,汇水腔固定安装在干燥机筒体外侧,汽室固定安装在干燥机筒体端头位置处,出料系统固定安装在干燥机筒体端头位置处,且出料系统设置在汽室内侧,凝液流出中心管设置在出料系统中间位置,换热管直接或间接与汇水腔相连通,汇水腔通过第一凝液回流管与汽室相连通,汽室与凝液流出中心管之间通过第二凝液回流管相连通。本实用新型在干燥机尾部汽室外面设置汇水腔,通过与换热管连通的蒸汽(凝液)分配管将蒸汽和凝液输送到换热管内,且将凝液回流到汇水腔,在整个过程中,易观察到泄漏点,检修非常方便。


