授权公布号:CN220602019U
一种高粘度磷酸铁进料调节和预干燥系统
有效
申请
2023-04-19
申请公布
1970-01-01
授权
2024-03-15
预估到期
2033-04-19
| 申请号 | CN202320874655.6 |
| 申请日 | 2023-04-19 |
| 授权公布号 | CN220602019U |
| 授权公告日 | 2024-03-15 |
| 分类号 | F26B11/10;F26B21/00;F26B25/00;F26B25/04;F26B25/16;F26B25/02 |
| 分类 | 干燥; |
| 申请人名称 | 天华化工机械及自动化研究设计院有限公司 |
| 申请人地址 | 甘肃省兰州市西固区合水北路3号 |
专利法律状态
2024-03-15
授权
状态信息
授权
摘要
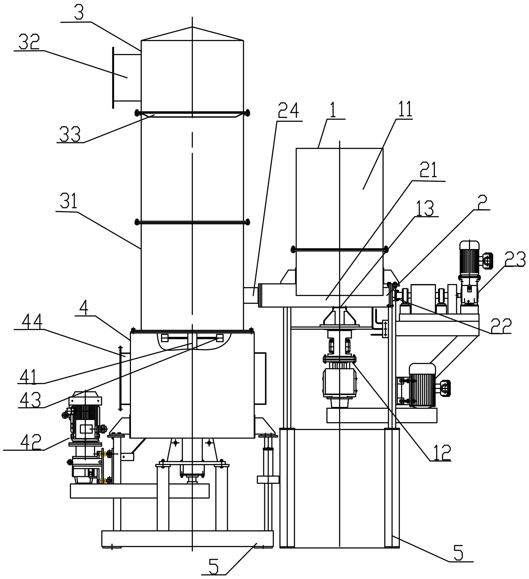
一种高粘度磷酸铁进料调节和预干燥系统,本实用新型涉及一种精准调节高粘度物料进料调节和预干燥系统,所述的系统包括有搅拌装置、和所述的搅拌装置相对接的喂料装置和用于干燥物料的干燥装置,本实用新型的有益效果在于,1.旋转闪蒸干燥器刮刀布置多层结构,物料流化更充分;多层陶析环结构,将大颗粒物料筛选后再次打散干燥,大大降低出料湿份含量。2.喂料螺旋的啮合压料结构,调节料量和自清洁功能,解决高粘度物料输送。3.搅拌罐进料结构的可调节,刮刀多层布置结构,优化进料分离。


