授权公布号:CN218994149U
一种用于蒸汽管干燥机换热管的保护套结构
有效
申请
2022-09-28
申请公布
1970-01-01
授权
2023-05-09
预估到期
2032-09-28
| 申请号 | CN202222580990.3 |
| 申请日 | 2022-09-28 |
| 授权公布号 | CN218994149U |
| 授权公告日 | 2023-05-09 |
| 分类号 | F28F9/013;F28F9/26;F26B23/10 |
| 分类 | 一般热交换; |
| 申请人名称 | 天华化工机械及自动化研究设计院有限公司 |
| 申请人地址 | 甘肃省兰州市西固区合水北路3号 |
专利法律状态
2023-05-09
授权
状态信息
授权
摘要
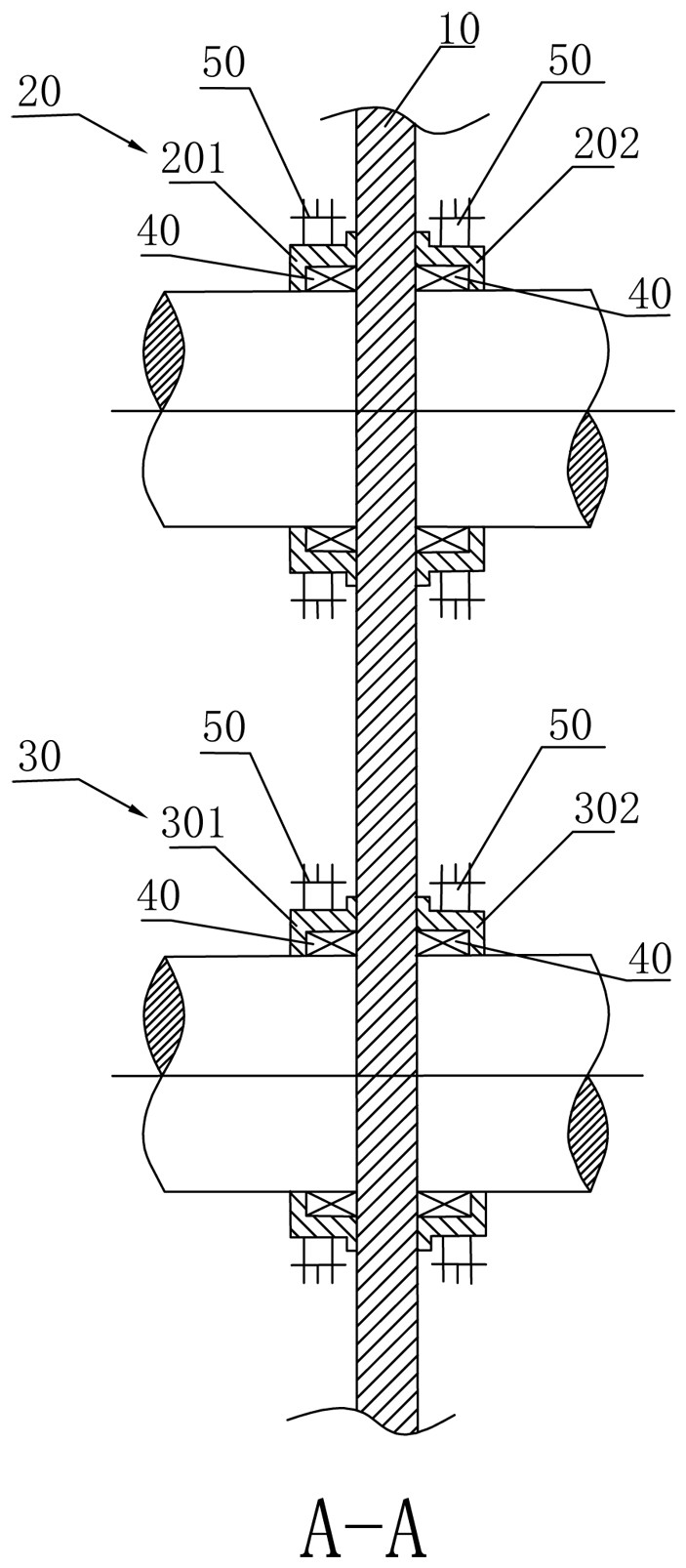
本实用新型提供了一种用于蒸汽管回转干燥机换热管的保护套结构,包括扇形板,扇形板上设有用于供上层换热管通过的上通孔和用于供下层换热管通过的下通孔,上通孔配合有用于保护换热管的上固定座,上固定座分为两部分,上固定座的两部分分别设置在扇形板的两侧;下通孔配合有用于保护换热管的下固定座,下固定座分为两部分,下固定座的两部分分别设置在扇形板的两侧。与现有技术相比,该用于蒸汽管回转干燥机换热管的保护套结构,在扇形板的通孔中设置固定座,减小换热管与扇形板上圆孔之间的磨损,避免换热管在长周期运行中产生磨损漏汽,高温蒸汽大面积泄露会导致物料粘度增大从而造成物料堵塞,使得干燥机不能正常运行。


