授权公布号:CN217154722U
一种喷雾干燥机
有效
申请
2022-04-27
申请公布
1970-01-01
授权
2022-08-09
预估到期
2032-04-27
| 申请号 | CN202221008094.3 |
| 申请日 | 2022-04-27 |
| 授权公布号 | CN217154722U |
| 授权公告日 | 2022-08-09 |
| 分类号 | F26B3/12;F26B17/10;F26B21/00;F26B25/00 |
| 分类 | 干燥; |
| 申请人名称 | 江苏宇通干燥工程有限公司 |
| 申请人地址 | 江苏省常州市天宁区郑陆镇舜南村 |
专利法律状态
2022-08-09
授权
状态信息
授权
摘要
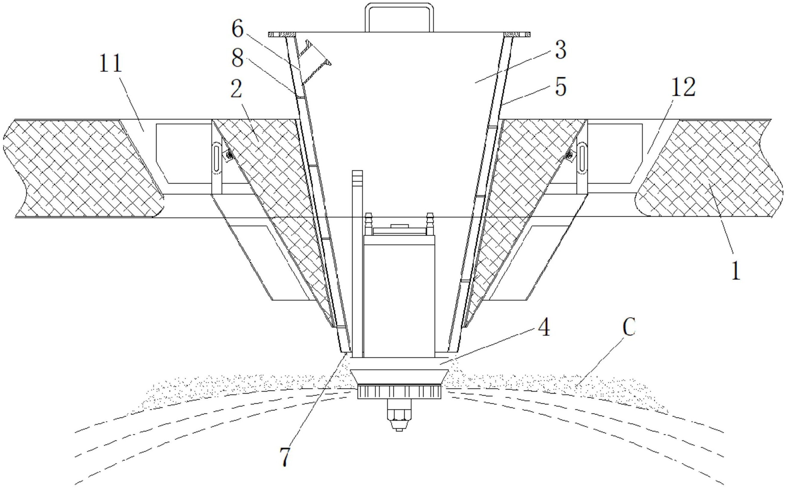
本实用新型涉及一种喷雾干燥机,包括干燥塔,所述干燥塔的顶部开设有锥形孔,所述干燥塔的顶端设有热风分配器,所述热风分配器包括位于锥形孔内侧的锥形座,所述锥形座的中部穿设有雾化组件,所述雾化器组件包括筒体,所述筒体的下端口上设有雾化器,所述筒体的外侧套设有导风夹套,所述筒体的顶部侧壁上开设有连通导风夹套内腔的冷风入口,所述导风夹套的底部开设有环形的冷风出口,所述导风夹套内设有螺旋导流板;本新型喷雾干燥机的干燥塔内不易出现雾滴返顶现象,因此干燥塔的内侧顶面上不会粘结有物料颗粒。


