授权公布号:CN218673074U
一种蒸汽回转干燥机用进料装置
有效
申请
2022-11-17
申请公布
1970-01-01
授权
2023-03-21
预估到期
2032-11-17
| 申请号 | CN202223085840.1 |
| 申请日 | 2022-11-17 |
| 授权公布号 | CN218673074U |
| 授权公告日 | 2023-03-21 |
| 分类号 | F26B25/00;B02C17/10 |
| 分类 | 干燥; |
| 申请人名称 | 山东天力能源股份有限公司 |
| 申请人地址 | 山东省济南市高新区舜华路2000号舜泰广场2号楼15层1501室 |
专利法律状态
2023-03-21
授权
状态信息
授权
摘要
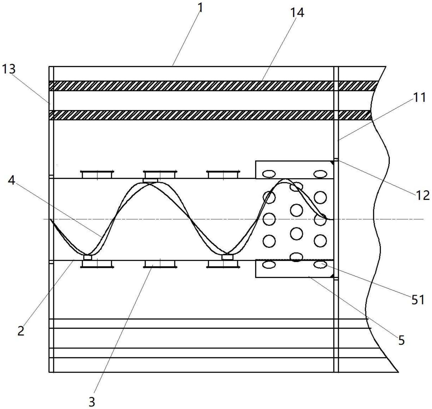
本实用新型涉及一种蒸汽回转干燥机用进料装置,属于工业干燥技术领域。所述进料装置包括套筒,所述套筒通过支架同轴设置在回转干燥机筒体的进料端,所述套筒的内壁上焊接有多道进料螺带,所述套筒的筒壁上沿轴向排列开有多个出料口,所述出料口上焊接有出料管,所述出料管的端部设置有盖板,所述盖板通过调节支架与出料口连接。本实用新型设计的进料装置通过在套筒上开出多个进料口,实现在回转干燥机内的分段落料,出料口的开度可以通过盖板进行调节。


