授权公布号:CN217492030U
一种喷雾干燥机内壁清洁装置
有效
申请
2022-07-05
申请公布
1970-01-01
授权
2022-09-27
预估到期
2032-07-05
| 申请号 | CN202221711128.5 |
| 申请日 | 2022-07-05 |
| 授权公布号 | CN217492030U |
| 授权公告日 | 2022-09-27 |
| 分类号 | B08B9/087;B08B9/093 |
| 分类 | 清洁; |
| 申请人名称 | 江苏省范群干燥设备厂有限公司 |
| 申请人地址 | 江苏省常州市天宁区郑陆镇三河口街 |
专利法律状态
2022-09-27
授权
状态信息
授权
摘要
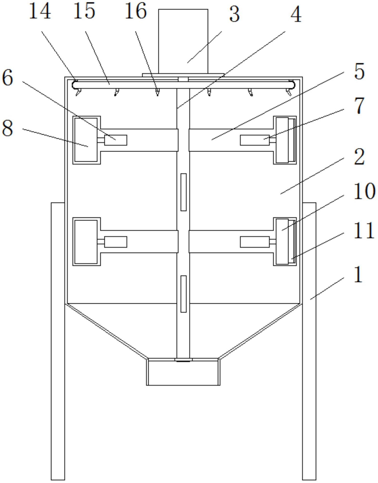
本实用新型涉及喷雾干燥机技术领域,尤其涉及一种喷雾干燥机内壁清洁装置,解决了喷雾干燥机内壁通过加水浸泡清洁浪费水资源,清洁不彻底,造成干燥仓内壁原料浪费的缺点,包括支撑架,所述支撑架顶部内侧焊接有干燥仓,所述干燥仓顶部安装有电机,所述电机输出端套接有连接杆,所述连接杆表面焊接有安装板,所述安装板两侧端部分别安装有第一电动伸缩杆及第二电动伸缩杆,安装板一侧端部焊接有收纳仓,该喷雾干燥机在需要清理时首先通过毛刷对内壁进行清洁,可以将部分粉末原料通过毛刷清洁进行有效回收,减少原料浪费,增加成品量,随后通过喷淋将内壁凝结的物质软化,通过刮板有效清理,减少用水量,保证清洁效果。


