授权公布号:CN217487541U
冰淇淋机
有效
申请
2022-05-12
申请公布
1970-01-01
授权
2022-09-27
预估到期
2032-05-12
| 申请号 | CN202221143914.X |
| 申请日 | 2022-05-12 |
| 授权公布号 | CN217487541U |
| 授权公告日 | 2022-09-27 |
| 分类号 | A23G9/08;A23G9/22 |
| 分类 | 其他类不包含的食品或食料;及其处理; |
| 申请人名称 | 黄石东贝制冷有限公司 |
| 申请人地址 | 湖北省黄石市铁山区武黄路5号 |
专利法律状态
2022-09-27
授权
状态信息
授权
摘要
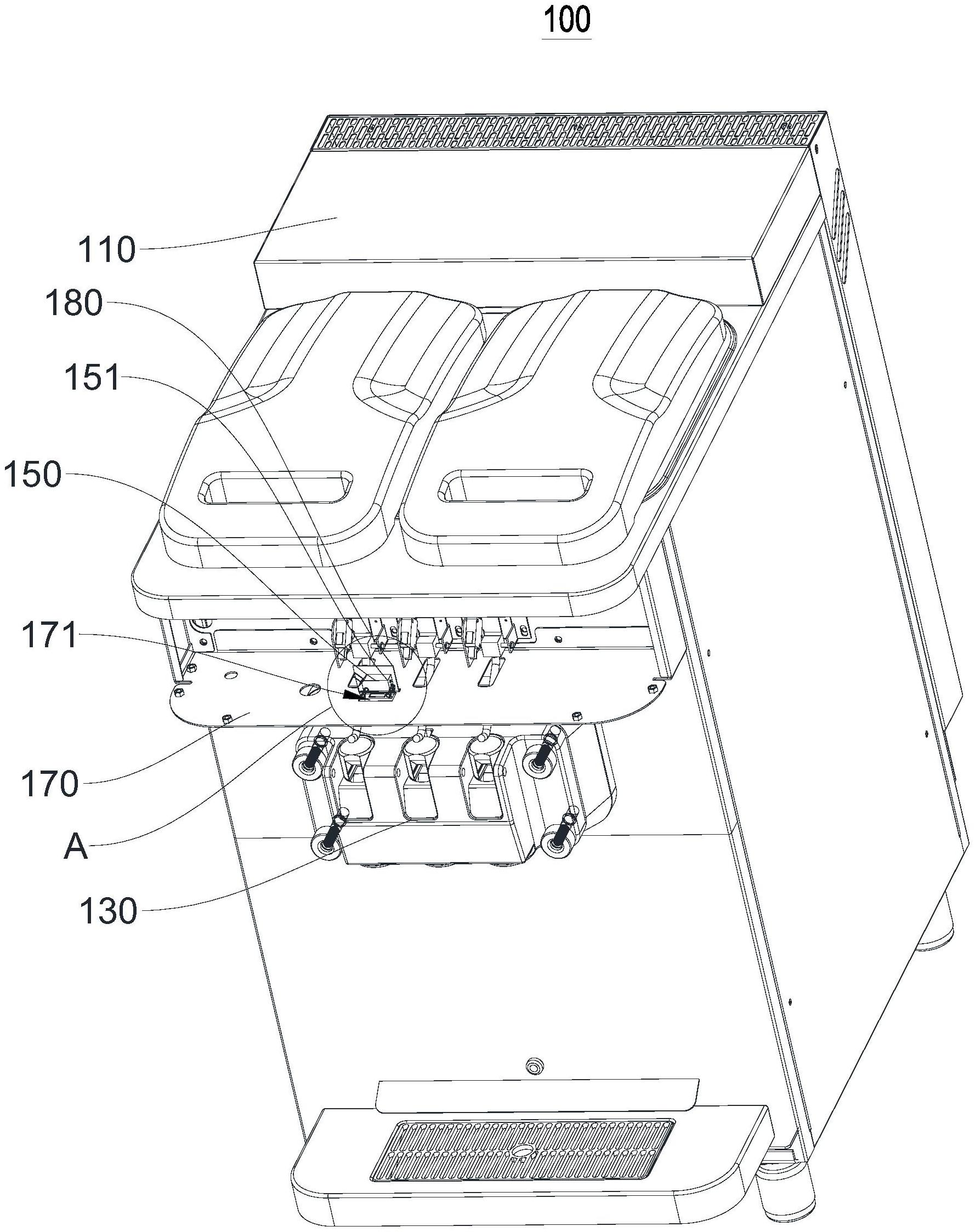
本实用新型实施例提供一种冰淇淋机,属于冷饮食品加工机械技术领域。冰淇淋机包括冰淇淋机本体、出液阀和检测装置,出液阀可拆卸地设置于冰淇淋机本体,且出液阀部分凸出冰淇淋机本体,检测装置设置于冰淇淋机本体的外侧,且与出液阀凸出冰淇淋机本体的部分对应,检测装置用于检测出液阀是否安装。本实施例通过在冰淇淋机本体的外侧设置检测装置,且使得检测装置与出液阀凸出冰淇淋机本体的部分对应,从而就可以自动检测出液阀是否被拆除,从而使用更加安全。


