授权公布号:CN210370917U
发动机烟度控制装置
有效
申请
2019-03-20
申请公布
1970-01-01
授权
2020-04-21
预估到期
2029-03-20
| 申请号 | CN201920360544.7 |
| 申请日 | 2019-03-20 |
| 授权公布号 | CN210370917U |
| 授权公告日 | 2020-04-21 |
| 分类号 | F02D11/10;F02D41/08;F02D41/30 |
| 分类 | 燃烧发动机;热气或燃烧生成物的发动机装置; |
| 申请人名称 | 久保田农业机械(苏州)有限公司 |
| 申请人地址 | 江苏省苏州市工业园区苏虹东路77号 |
专利法律状态
2020-04-21
授权
状态信息
授权
摘要
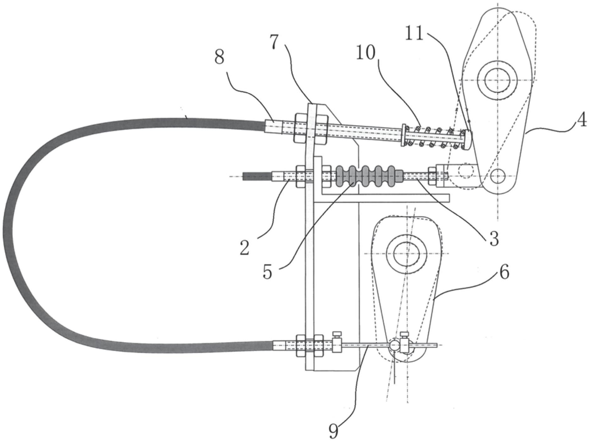
本实用新型公开了发动机烟度控制装置,包括加速机构、及燃油控制机构;所述加速机构包括加速踏板或加速手柄机构、加速套管、穿设在所述加速套管内的连接钢索、及加速板,所述连接钢索与所述加速板连接的一端设有第一复位件;所述燃油控制机构包括控制发动机燃油的熄火器;所述加速机构与所述熄火器之间设有熄火器控制机构。本实用新型提供的发动机烟度控制装置,可杜绝机械喷油泵式发动机由于燃油过剩供给、不完全燃烧所产生的黑烟、有效地降低发动机启动与加速过程中的烟度,达到既节省燃油又减少污染的目的。


