授权公布号:CN210739177U
锥面摩擦式离合器装置
有效
申请
2019-11-01
申请公布
1970-01-01
授权
2020-06-12
预估到期
2029-11-01
| 申请号 | CN201921863292.6 |
| 申请日 | 2019-11-01 |
| 授权公布号 | CN210739177U |
| 授权公告日 | 2020-06-12 |
| 分类号 | F16D13/24;F16D23/14 |
| 分类 | 工程元件或部件;为产生和保持机器或设备的有效运行的一般措施;一般绝热; |
| 申请人名称 | 山东华盛中天机械集团股份有限公司 |
| 申请人地址 | 山东省临沂市高新技术产业开发区中天路2号 |
专利法律状态
2020-06-12
授权
状态信息
授权
摘要
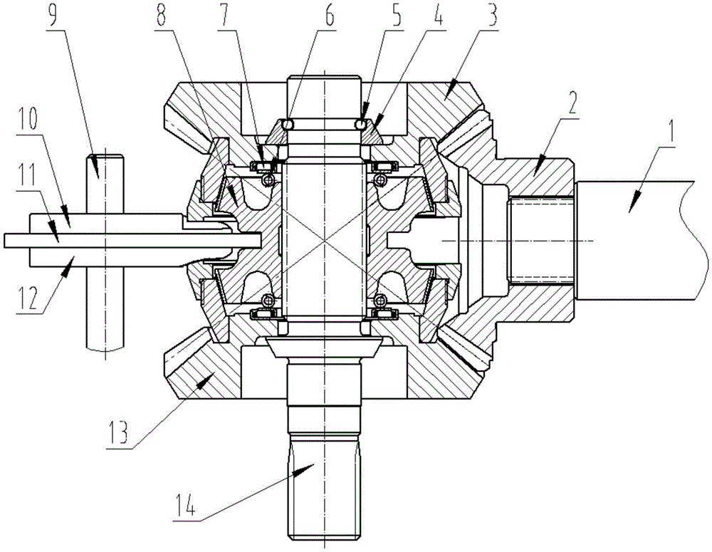
本实用新型公开了一种锥面摩擦式离合器装置,属于离合器领域,用于动力传递,其包括安装于输入轴上的主动齿轮,所述主动齿轮分别与上从动齿轮、下从动齿轮分别啮合传动,上从动齿轮、下从动齿轮均安装于输出轴上,在上从动齿轮、下从动齿轮之间安装有离合块,离合块上设置有分别与上从动齿轮、下从动齿轮贴合的摩擦锥面;所述离合块的一侧设置有换挡拨叉,换挡拨叉位于上换挡凸轮、下换挡凸轮之间,其中上换挡凸轮、换挡拨叉、下换挡凸轮均安装在换挡轴上,换挡拨叉在上换挡凸轮、下换挡凸轮之间绕换挡轴转动。鉴于上述技术方案,本实用新型能够用于解决锥面摩擦式离合器由于压紧力衰退导致传递扭矩不足的问题。


