授权公布号:CN208330580U
通用汽油机旋风油浴式空滤器
有效
申请
2018-06-28
申请公布
1970-01-01
授权
2019-01-04
预估到期
2028-06-28
| 申请号 | CN201821011182.2 |
| 申请日 | 2018-06-28 |
| 授权公布号 | CN208330580U |
| 授权公告日 | 2019-01-04 |
| 分类号 | F02M35/026;F02M35/022 |
| 分类 | 燃烧发动机;热气或燃烧生成物的发动机装置; |
| 申请人名称 | 山东华盛中天机械集团股份有限公司 |
| 申请人地址 | 山东省临沂市高新技术产业开发区中天路2号 |
专利法律状态
2019-01-04
授权
状态信息
授权
摘要
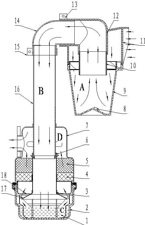
本申请公开了一种通用汽油机旋风油浴式空滤器,属于通用汽油机空滤器领域,用于汽油机,其包括依次连接的集尘室A和进气道B、滤油室C、过滤室D,其中所述的集尘室A包括进气口、集尘杯,集尘杯与进气口之间安装有旋风叶片体,所述进气道B包括进气管,进气管的两端分别与集尘杯、滤油室C连接,滤油室C包括滤油杯,滤油杯内设置有油池,进气管的端口位于油池内;过滤室D包括空滤器体,空滤器体内由下至上依次包括粗滤芯海绵、细滤芯海绵、出气口。本申请能够通过初级旋风进气排尘、二级油浴过滤黏尘,三级滤芯容尘的原理来实现提升空滤器的过滤效果,减少对滤芯的维护保养次数来实现提高劳动效率,提高汽油机的可靠性。


