授权公布号:CN219046219U
一种多功能工艺文件放置装置
有效
申请
2022-12-29
申请公布
1970-01-01
授权
2023-05-19
预估到期
2032-12-29
| 申请号 | CN202223525147.1 |
| 申请日 | 2022-12-29 |
| 授权公布号 | CN219046219U |
| 授权公告日 | 2023-05-19 |
| 分类号 | G09F1/10;F16M13/00 |
| 分类 | 教育;密码术;显示;广告;印鉴; |
| 申请人名称 | 山重建机有限公司 |
| 申请人地址 | 山东省临沂市临沂经济技术开发区滨河东路66号 |
专利法律状态
2023-05-19
授权
状态信息
授权
摘要
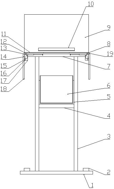
本实用新型公开了一种多功能工艺文件放置装置,其包括底座,底座的上端连接有两根框架,两根框架的顶部连接有支撑架,支撑架的上端连接有固定台面,固定台面的两端均通过合页连接有翻板,固定台面的后端边缘处连接有两个套筒,两个套筒之间转动设置有背板,背板的底部左端设置有销轴且设置在左侧的套筒内侧,本实用新型实现了可折叠扩展宽度、背板翻转角度,占用空间小可储存文档,外置投影仪可随时向着媒介投影的功能。


