授权公布号:CN219511346U
一种钎焊板式换热器
有效
申请
2022-12-09
申请公布
1970-01-01
授权
2023-08-11
预估到期
2032-12-09
| 申请号 | CN202223309910.7 |
| 申请日 | 2022-12-09 |
| 授权公布号 | CN219511346U |
| 授权公告日 | 2023-08-11 |
| 分类号 | F28D9/00;F28F11/02 |
| 分类 | 一般热交换; |
| 申请人名称 | 凯络文换热器(中国)有限公司 |
| 申请人地址 | 安徽省芜湖市鸠江区鸠江经济开发区阳天路8号 |
专利法律状态
2023-08-11
授权
状态信息
授权
摘要
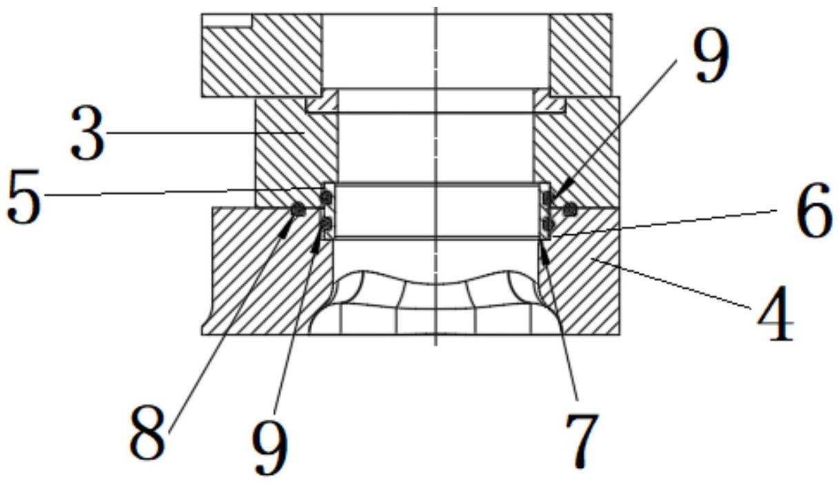
本实用新型属于换热器技术领域的钎焊板式换热器。换热器本体(1)的连接流道(3)连通箱体(2)的箱体通道(4),连接流道(3)端口设置流道凸台(5),箱体通道(4)端口设置通道凸台(6),流道凸台(5)和通道凸台(6)位置套装密封环(7),连接流道(3)端面和箱体通道(4)端面之间设置大O型圈(8),密封环(7)和连接流道(3)内壁之间设置小O型圈(9),密封环(7)和箱体通道(4)内壁之间设置小O型圈(9)。本实用新型所述的钎焊板式换热器,结构简单,实现换热器本体和换热器底座箱体之间可靠连接,消除连接点泄露问题,同时确保换热器连接可靠。


