授权公布号:CN112643179B
一种换热管焊接定位装置
有效
申请
2020-12-08
申请公布
2021-04-13
授权
2022-09-30
预估到期
2040-12-08
| 申请号 | CN202011445585.X |
| 申请日 | 2020-12-08 |
| 申请公布号 | CN112643179A |
| 申请公布日 | 2021-04-13 |
| 授权公布号 | CN112643179B |
| 授权公告日 | 2022-09-30 |
| 分类号 | B23K9/32;B23K9/167;B23K37/053 |
| 分类 | 机床;不包含在其他类目中的金属加工; |
| 申请人名称 | 凯络文换热器(中国)有限公司 |
| 申请人地址 | 安徽省芜湖市鸠江区鸠江经济开发区阳天路8号 |
专利法律状态
2022-09-30
授权
状态信息
授权
2020-12-08
公布
状态信息
公布
摘要
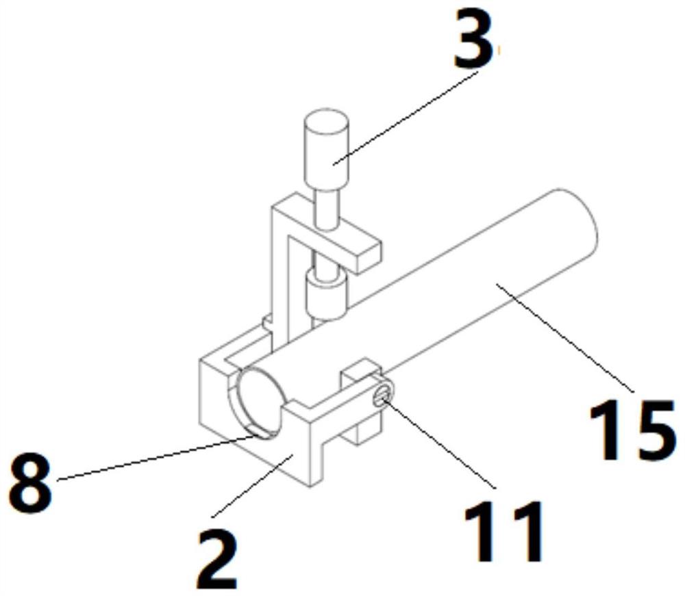
本发明提供一种应用于散热器换热管技术领域的换热管焊接定位装置,所述的换热管焊接定位装置的装置框架(1)上部的螺纹孔内拧装旋转顶针(3),定位块(2)包括定位块本体(4)、连接臂Ⅰ(5)和连接臂Ⅱ(6),连接臂Ⅰ(5)与装置框架(1)下部一侧活动连接,连接臂Ⅱ(6)与装置框架(1)下部另一侧活动连接,定位块本体(4)上设置定位块限位凹槽(7),定位块限位凹槽(7)表面设置定位台阶(8),所述的装置框架(1)下部设置框架限位凹槽(9),本发明的换热管焊接定位装置,能够快捷精确地对两根需要焊接的换热管进行装配,使得换枪套装在换热管后能够准确对准焊缝,实现高效、高质焊接,提高换热管的焊接效率。


