授权公布号:CN218821875U
一种用于卧式高压气体换热器的可拆管箱
有效
申请
2023-02-15
申请公布
1970-01-01
授权
2023-04-07
预估到期
2033-02-15
| 申请号 | CN202320213015.0 |
| 申请日 | 2023-02-15 |
| 授权公布号 | CN218821875U |
| 授权公告日 | 2023-04-07 |
| 分类号 | F28F9/02;F28F9/22;F28F9/26 |
| 分类 | 一般热交换; |
| 申请人名称 | 甘肃蓝科石化高新装备股份有限公司 |
| 申请人地址 | 甘肃省兰州市安宁区蓝科路8号 |
专利法律状态
2023-04-07
授权
状态信息
授权
摘要
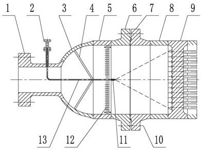
一种用于卧式高压气体换热器的可拆管箱,包括管箱、管箱封头、管程气体进口、液体进口、管束管板、液体喷头,所述管箱由管箱法兰和管箱对应法兰可拆卸连接,管箱法兰另一端通过气体分布板短节与管箱封头相连接,管箱对应法兰另一端与换热器的管束管板相连接;管程气体进口设置于管箱封头的轴向端部,液体进口布置于管程气体进口法兰接管处,并通过弯头连接液体进料管及液体喷头,使液体进料管及液体喷头与管程气体进口接管同轴布置。本实用新型使管程气体与液体喷布同向、不仅减小了管程气体流速和流向对均匀混合的影响,而且结构简单、换热器管头可检修。


