授权公布号:CN114798202B
一种喷嘴、防堵塞喷嘴及其构成的喷淋装置
有效
申请
2022-04-26
申请公布
2022-07-29
授权
2024-03-19
预估到期
2042-04-26
| 申请号 | CN202210444375.1 |
| 申请日 | 2022-04-26 |
| 申请公布号 | CN114798202A |
| 申请公布日 | 2022-07-29 |
| 授权公布号 | CN114798202B |
| 授权公告日 | 2024-03-19 |
| 分类号 | B05B1/02;B05B9/04;B05B12/08;B05B15/50;B05B15/55;B05B15/65 |
| 分类 | 一般喷射或雾化;对表面涂覆液体或其他流体的一般方法〔2〕; |
| 申请人名称 | 甘肃蓝科石化高新装备股份有限公司 |
| 申请人地址 | 甘肃省兰州市安宁区蓝科路8号 |
专利法律状态
2024-03-19
授权
状态信息
授权
2022-08-16
实质审查的生效
状态信息
实质审查的生效;IPC(主分类):B05B1/02;申请日:20220426
2022-07-29
公布
状态信息
公布
摘要
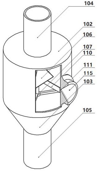
一种喷嘴,包括本体及喷射孔,该本体由筒体和锥形管组成一体构件,筒体的上端由上端板封闭后和入水管贯通作为进口,锥形管的下端安装出水管作为出口;圆形或长条形的喷射孔设置在筒体上,且喷射孔的轴线与筒体轴线互成90°。在所述喷嘴内设置防堵塞装置后成为防堵塞喷嘴,而后将该防堵塞喷嘴与管道串联起来,变分体式结构为一体式结构,使其成为管道的一部分而成为防堵塞喷嘴构成的喷淋装置。本发明无需对水质进行过滤处理,杂质一旦进入管道构架,由于管路小循环的存在,加之喷嘴组件的设置,杂质很容易被剥落被冲刷。


