授权公布号:CN218210918U
一种多级换热分离器
有效
申请
2022-10-21
申请公布
1970-01-01
授权
2023-01-03
预估到期
2032-10-21
| 申请号 | CN202222788510.2 |
| 申请日 | 2022-10-21 |
| 授权公布号 | CN218210918U |
| 授权公告日 | 2023-01-03 |
| 分类号 | F28D15/02 |
| 分类 | 一般热交换; |
| 申请人名称 | 甘肃蓝科石化高新装备股份有限公司 |
| 申请人地址 | 甘肃省兰州市安宁区蓝科路8号 |
专利法律状态
2023-01-03
授权
状态信息
授权
摘要
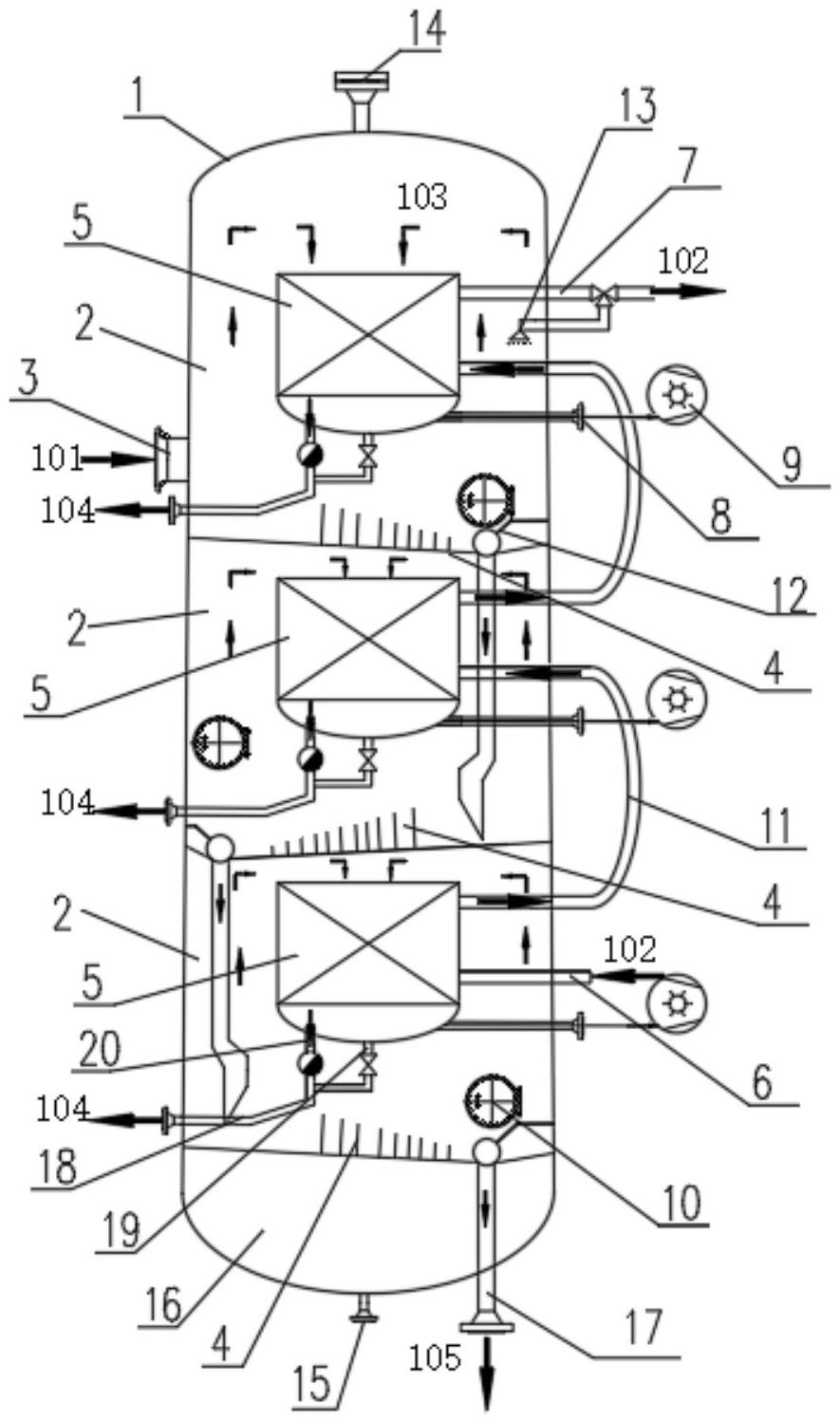
本实用新型公开了一种多级换热分离器,涉及分离器技术领域,包括筒体,所述筒体为立式结构,筒体的底部设有底部封头,筒体内设有换热分离腔,筒体的一侧设有原料介质入口接管,原料介质通过原料介质入口接管输送至换热分离腔内;所述换热分离腔内设有介质分布器、换热单元,筒体外接抽真空系统;本实用新型的换热器分离器可实现模块化设计,在对原料介质分离和余热利用的同时降低换热元件对于材料耐腐蚀性的要求,设备成本低;原料介质及余液介质的分布更加均匀;有效减小对介质分布器的冲蚀腐蚀,降低介质中析出盐分及杂质对降液管的堵塞;降低杂质沉积;可实现气体杂质的分离;传热效率高,可在线清洗,设备运行周期长。


