授权公布号:CN218620726U
一种芯体一体化可拆型超音速分离器
有效
申请
2022-08-29
申请公布
1970-01-01
授权
2023-03-14
预估到期
2032-08-29
| 申请号 | CN202222269208.6 |
| 申请日 | 2022-08-29 |
| 授权公布号 | CN218620726U |
| 授权公告日 | 2023-03-14 |
| 分类号 | C10L3/10;B01D45/14 |
| 分类 | 石油、煤气及炼焦工业;含一氧化碳的工业气体;燃料;润滑剂;泥煤; |
| 申请人名称 | 甘肃蓝科石化高新装备股份有限公司 |
| 申请人地址 | 甘肃省兰州市安宁区蓝科路8号 |
专利法律状态
2023-03-14
授权
状态信息
授权
摘要
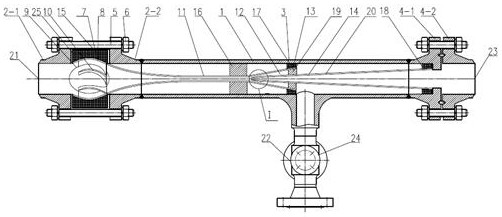
一种芯体一体化可拆型超音速分离器,其一体化超音速分离器芯体包括轴向的旋流段,Laval喷管段,分离段及扩压管段;Laval喷管段的末端外部固接有固定翅片,该固定翅片与超音速分离器壳体内壁适配贴合;而所述分离段的分离翼末端设置有分离翼末端限位环,该分离翼末端限位环内环面与分离翼末端环面固接,外环面与超音速分离器壳体内壁适配贴合;分离翼末端内壁与扩压管段间设有固定支撑板,该固定支撑板平行于超音速分离器壳体轴线设置后其上部与分离翼内表面固接,下部与扩压管段外表面固接从而形成可整体抽出更换的一体化超音速分离器芯体。本实用新型解决了芯体与外部套筒固定方式复杂,加工难度大的问题;避免了以往法兰连接,产生泄露和激波的情况发生。


