授权公布号:CN209202044U
一种带自动搅拌奶浆原料的冰淇淋装置
有效
申请
2018-10-12
申请公布
1970-01-01
授权
2019-08-06
预估到期
2028-10-12
| 申请号 | CN201821663035.3 |
| 申请日 | 2018-10-12 |
| 授权公布号 | CN209202044U |
| 授权公告日 | 2019-08-06 |
| 分类号 | A23G9/22 |
| 分类 | 其他类不包含的食品或食料;及其处理; |
| 申请人名称 | 江门市新会区康美制品有限公司 |
| 申请人地址 | 广东省江门市新会区会城工业大道36号之一 |
专利法律状态
2019-08-06
授权
状态信息
授权
摘要
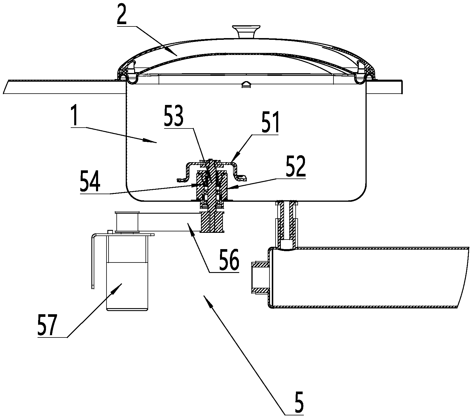
本实用新型公开了一种带自动搅拌奶浆原料的冰淇淋装置,包括上端设置有敞口的密封料斗,敞口上可拆卸安装有密封盖,密封料斗的底部安装有搅拌装置,搅拌装置包括搅拌叶,以及用于驱动搅拌叶转动的调速电机。避免了冰淇淋粉进行兑水溶解搅拌时,容易造成粉尘扬起,污染环境的问题。选用调速电机代替传统定速减速电机,使搅拌器能够实现调速。高速搅拌使冰淇淋粉与水能够混合得更加好,实现自动售卖机机内自动搅拌原料冰淇淋粉,高速搅拌使奶浆在搅拌过程中混入料斗中的空气,从而增加冰淇淋的口感和膨化效果。


