授权公布号:CN212203122U
一种传动轴密封结构及其食品制作设备
有效
申请
2020-04-02
申请公布
1970-01-01
授权
2020-12-22
预估到期
2030-04-02
| 申请号 | CN202020471480.0 |
| 申请日 | 2020-04-02 |
| 授权公布号 | CN212203122U |
| 授权公告日 | 2020-12-22 |
| 分类号 | F16J15/34 |
| 分类 | 工程元件或部件;为产生和保持机器或设备的有效运行的一般措施;一般绝热; |
| 申请人名称 | 江门市新会区康美制品有限公司 |
| 申请人地址 | 广东省江门市新会区会城工业大道36号之一 |
专利法律状态
2020-12-22
授权
状态信息
授权
摘要
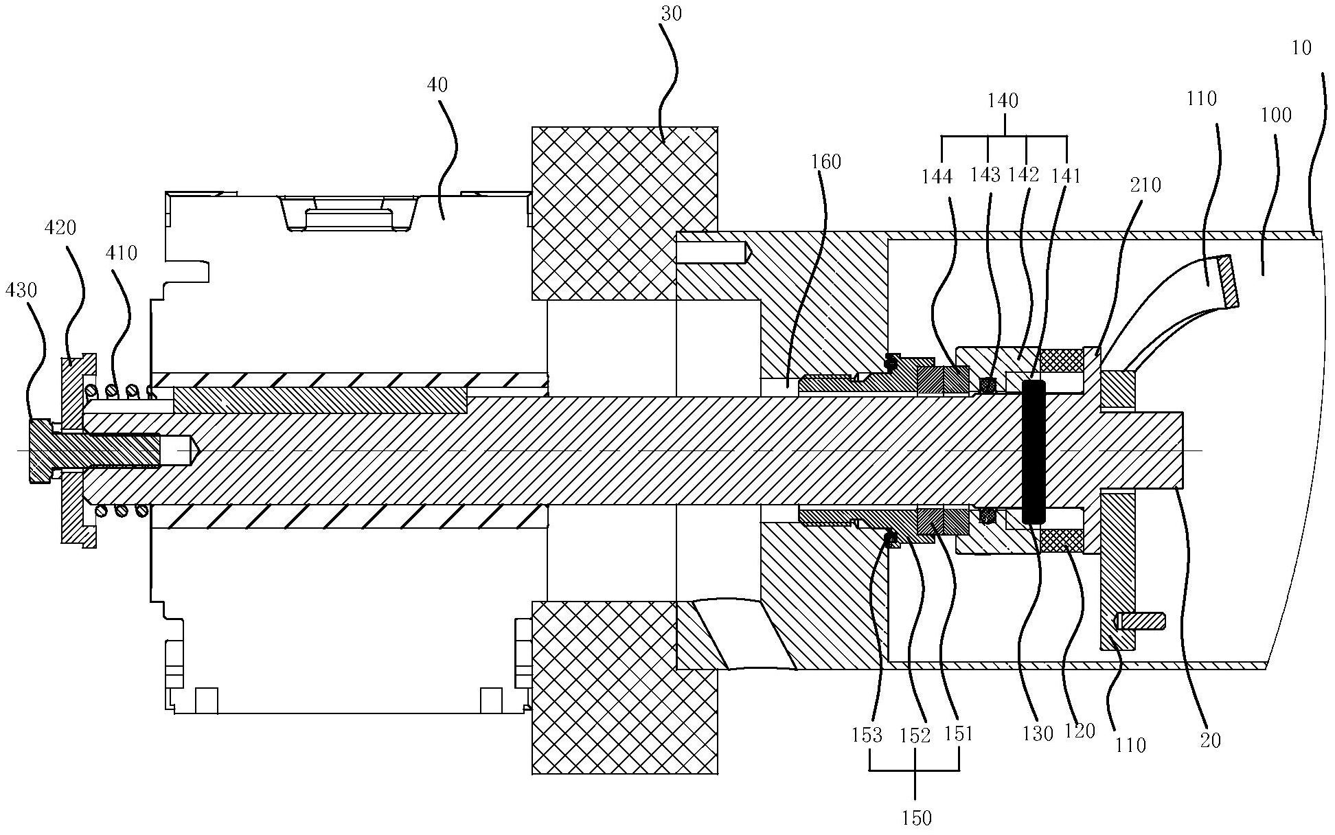
本申请公开了一种传动轴密封结构及其食品制作设备,在所述搅拌筒的后侧设置有传动轴安装垫,所述传动轴贯穿过所述传动轴安装垫使得前端位于搅拌腔内,传动轴的前端设置有凸台,所述凸台连接有第一密封部,所述第一密封部密封连接于所述传动轴的外侧表面,防止液体从所述第一密封部与传动轴的连接处渗漏,所述传动轴安装孔密封连接有第二密封部,防止液体从所述第二密封部和所述传动轴安装孔的缝隙渗漏,所述第二密封部与所述第一密封部相互贴合,实现了所述传动轴和连接处之间的密封;且在所述传动轴安装垫和所述驱动装置之间设置有弹性部件,所述弹性部件用于产生恢复力以带动所述第一密封部随时贴紧于所述第二密封部,减少维护次数。


