授权公布号:CN217083447U
一种换热器管口防护密封装置
有效
申请
2022-04-12
申请公布
1970-01-01
授权
2022-07-29
预估到期
2032-04-12
| 申请号 | CN202220844430.1 |
| 申请日 | 2022-04-12 |
| 授权公布号 | CN217083447U |
| 授权公告日 | 2022-07-29 |
| 分类号 | F28D21/00;F28F9/10 |
| 分类 | 一般热交换; |
| 申请人名称 | 风凯换热器制造(常州)有限公司 |
| 申请人地址 | 江苏省常州市武进区武进国家高新技术产业开发区龙瑞路9号 |
专利法律状态
2022-07-29
授权
状态信息
授权
摘要
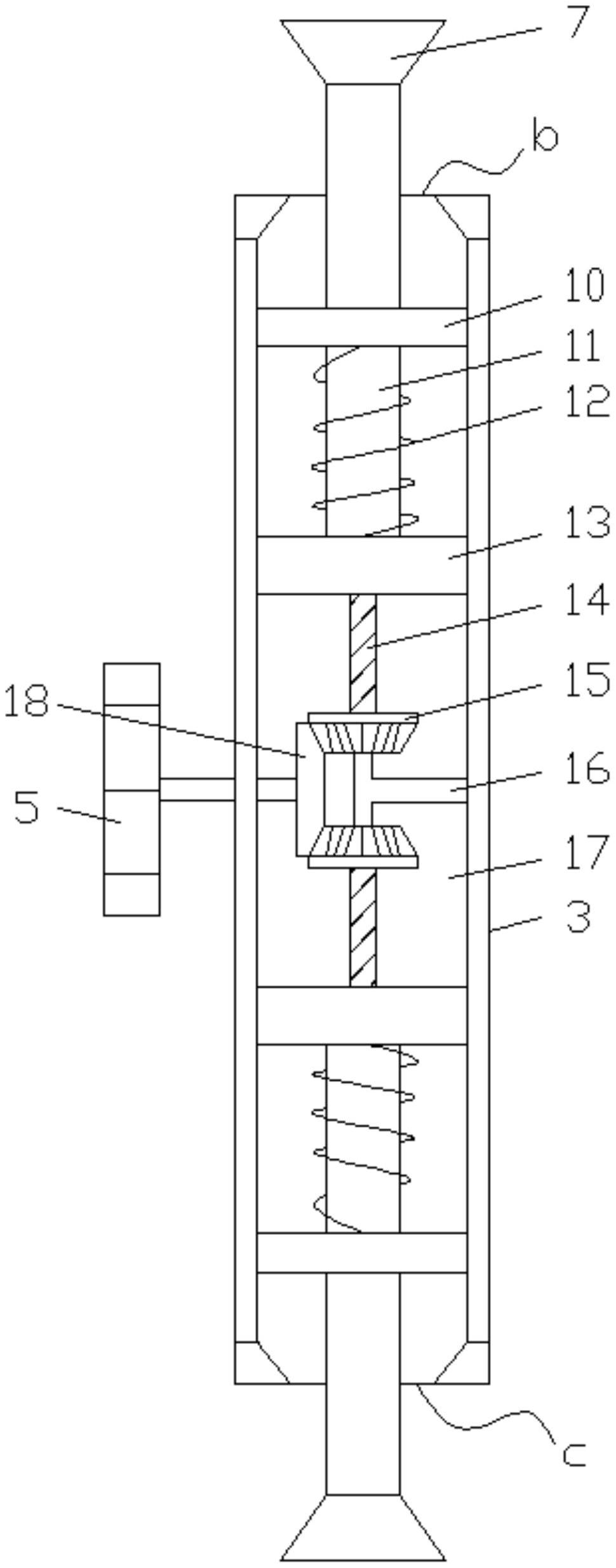
本实用新型公开了一种换热器管口防护密封装置,包括进水管口及连接于进水管口的密封接头,所述密封接头连接有用于密封接头压紧于进水管口顶部的压紧机构,所述连接管连接有用于驱动两个压块相互靠近或远离的驱动机构,所述驱动机构包括两个相对设置的锥型齿、螺纹杆、推拉杆、齿盘,所述螺纹杆的一端与相应的锥型齿固定连接,另一端位于推拉杆内,所述压块连接于推拉杆的端部,所述齿盘用于驱动两个锥型齿同步旋转,两个锥型齿同步旋转用于驱动两个压块相互靠近或远离。本实用新型既能使密封接头与进水管口连接稳固,实现良好密封处理,同时便于密封接头与进水管口的分离,方便对密封圈的更换,操作简单灵活。


