授权公布号:CN212414602U
一种喉座组件及其食品制作设备
有效
申请
2020-04-13
申请公布
1970-01-01
授权
2021-01-29
预估到期
2030-04-13
| 申请号 | CN202020539755.X |
| 申请日 | 2020-04-13 |
| 授权公布号 | CN212414602U |
| 授权公告日 | 2021-01-29 |
| 分类号 | A23G9/28;A23G9/22 |
| 分类 | 其他类不包含的食品或食料;及其处理; |
| 申请人名称 | 江门市新会区康美制品有限公司 |
| 申请人地址 | 广东省江门市新会区会城工业大道36号之一 |
专利法律状态
2021-01-29
授权
状态信息
授权
摘要
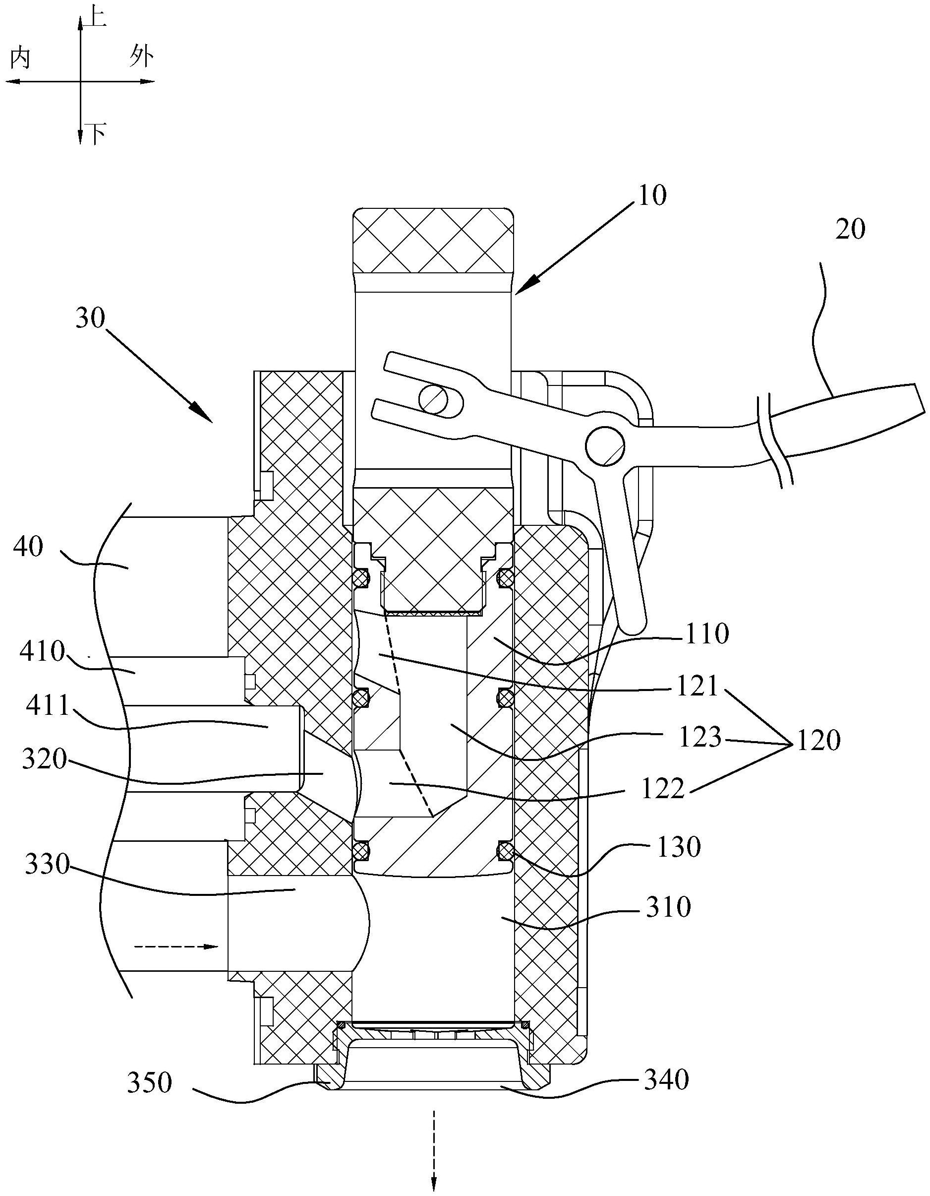
本申请公开了一种喉座组件及其食品制作设备,喉座组件包括与搅拌腔连接的壳体,所述壳体中设置有安装柱塞的腔体,柱塞的上端连接有拉杆,柱塞的下端设置有第一导温部,第一导温部中设置有导流管,导流管的上下两端设置有第一开口和第二开口,所述壳体中设置有与搅拌腔相连通的第三开口和第四开口,在非出料工作状态下,所述第一开口与所述第三开口相连通,所述第二开口与所述第四开口相连通,使导流管的上下两端与搅拌腔的连通,进而使第一导温部的温度与搅拌腔内的温度保持一致,且第一导温部的底端与出料口接触,能够通过热传递将温度传递至出料口,由于导流管设置在第一导温部的内部,减少了与出料口与冷源或热源之间的距离,提高热传递效果。


