授权公布号:CN215765375U
一种防熏墙的散热器
有效
申请
2021-08-04
申请公布
1970-01-01
授权
2022-02-08
预估到期
2031-08-04
| 申请号 | CN202121809490.1 |
| 申请日 | 2021-08-04 |
| 授权公布号 | CN215765375U |
| 授权公告日 | 2022-02-08 |
| 分类号 | F24D19/00;F24D19/02 |
| 分类 | 供热;炉灶;通风; |
| 申请人名称 | 唐山大通金属制品有限公司 |
| 申请人地址 | 河北省唐山市芦台经济开发区海北镇 |
专利法律状态
2022-02-08
授权
状态信息
授权
摘要
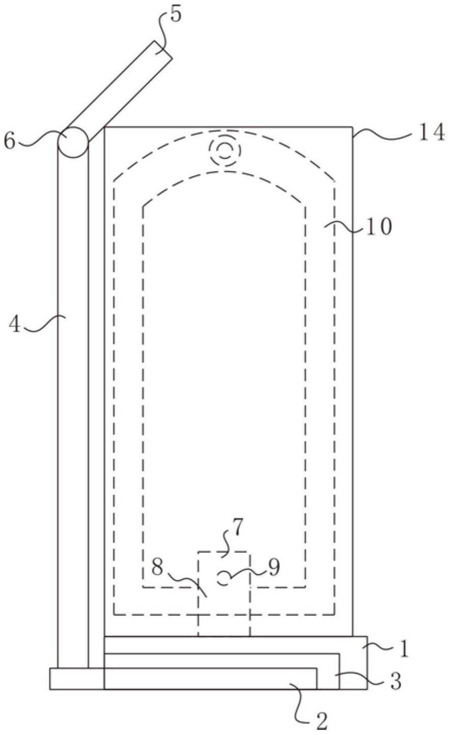
本实用新型提供了一种防熏墙的散热器,涉及散热器领域,包括底座,散热器本体以及导热板,所述底座包括固定底座以及滑动底座,所述固定底座的内部设有滑槽,所述滑动底座与滑槽滑动连接,所述散热器本体与固定底座相连,所述导热板固接在滑动底座的外边缘,所述导热板包括背部导热板以及上部导热板,所述背部导热板竖直设置在滑动底座的外边缘,所述上部导热板与背部导热板的顶端铰接。导热板对散热器散发出来的热气起阻挡与导向的作用,防止热气熏墙,影响墙体美观,此外,导热板设置在滑动底座上,可以对其进行调节,节省散热器的体积,减小占用的空间。


