授权公布号:CN212274084U
一种具有空气净化功能的采暖散热器
有效
申请
2020-05-22
申请公布
1970-01-01
授权
2021-01-01
预估到期
2030-05-22
| 申请号 | CN202020868505.0 |
| 申请日 | 2020-05-22 |
| 授权公布号 | CN212274084U |
| 授权公告日 | 2021-01-01 |
| 分类号 | F24D15/02 |
| 分类 | 供热;炉灶;通风; |
| 申请人名称 | 唐山大通金属制品有限公司 |
| 申请人地址 | 河北省唐山市芦台经济开发区海北镇 |
专利法律状态
2021-01-01
授权
状态信息
授权
摘要
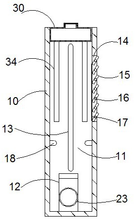
本实用新型公开了一种具有空气净化功能的采暖散热器,涉及采暖散热器技术领域。本实用新型的结构包括箱体、风机、发热管、进风管道、PET棉、HEPA滤网、活性炭滤网、水箱、滴水管、海绵套,所述箱体壁上设置进风管道和出风通孔,所述风机设置在风腔底侧壁上,所述发热管固定安装在风腔上部的中间部位,所述进风管道固定在箱体前侧壁的通孔中,所述进风管道使作为进气孔,所述PET棉固定在进风管道的管道前端,所述HEPA滤网固定在PET棉后侧,所述活性炭滤网设置在HEPA滤网后侧,所述水箱固定在箱体顶侧壁的通孔中,所述水箱底侧壁通孔中固定有滴头,所述滴水管固定在滴头上,所述海绵套套在滴水管上。本实用新型具有空气净化功能和加湿功能。


