授权公布号:CN212042942U
一种带锯床的图像采集装置
有效
申请
2019-12-26
申请公布
1970-01-01
授权
2020-12-01
预估到期
2029-12-26
| 申请号 | CN201922394268.9 |
| 申请日 | 2019-12-26 |
| 授权公布号 | CN212042942U |
| 授权公告日 | 2020-12-01 |
| 分类号 | B23D55/00 |
| 分类 | 机床;不包含在其他类目中的金属加工; |
| 申请人名称 | 浙江斯耐达机械工具有限公司 |
| 申请人地址 | 浙江省丽水市缙云县壶镇镇工业园区兴工路 |
专利法律状态
2020-12-01
授权
状态信息
授权
摘要
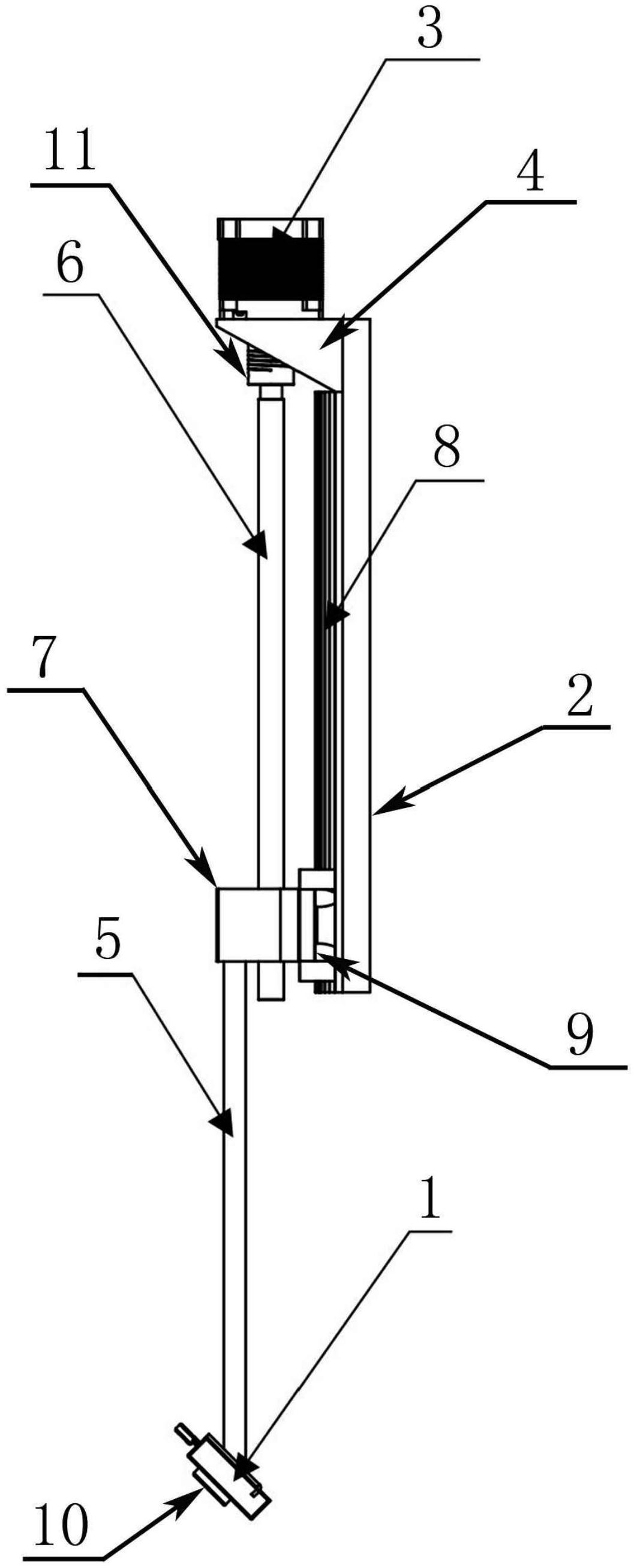
本实用新型提供了一种带锯床的图像采集装置,属于带锯床技术领域。它解决了现有的带锯床在工作前,需要在控制系统内通过触摸屏预设多种切割工件的材料、横截面类型,由于原料的多样性,每种不同的原料都需要编程一套控制程序,较为繁杂。本实用新型的驱动装置包括安装板、驱动电机、滚珠丝杆、导向杆和摄像机安装板,安装板固定设置在带锯床的机体上,驱动电机通过角件与安装板固定连接,通过联轴器带动滚珠丝杆旋转,从而实现丝杆螺母上下运动。本实用新型的优点在于利用图像采集装置将切割原料的图像信号转化为数字信号,能够实现在锯切时通过控制系统时时调整锯切进给速度,使锯带不受锯切损耗的影响,始终保持在最优的锯切效果。


