授权公布号:CN207205430U
一种锯床的锯切进给控制装置
有效
申请
2017-09-26
申请公布
1970-01-01
授权
2018-04-10
预估到期
2027-09-26
| 申请号 | CN201721245675.8 |
| 申请日 | 2017-09-26 |
| 授权公布号 | CN207205430U |
| 授权公告日 | 2018-04-10 |
| 分类号 | B23D55/00;B23D55/08;B23D55/02 |
| 分类 | 机床;不包含在其他类目中的金属加工; |
| 申请人名称 | 浙江斯耐达机械工具有限公司 |
| 申请人地址 | 浙江省丽水市缙云县壶镇镇工业园区兴工路 |
专利法律状态
2018-04-10
授权
状态信息
授权
摘要
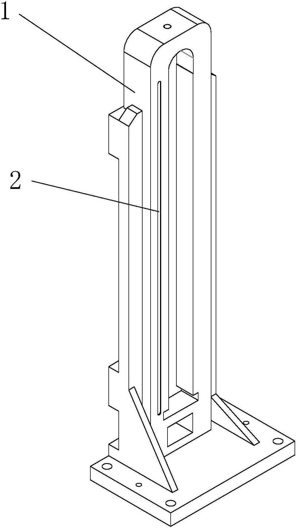
本实用新型提供了一种锯床的锯切进给控制装置,属于锯切设备技术领域。它解决了现有的锯床锯切进给控制不精确的问题。本锯床的锯切进给控制装置包括控制器、数显屏、进给调节装置和竖直设置在锯床立柱上的位移检测装置,位移检测装置和数显屏均与控制器电性连接,位移检测装置用于检测锯架的升降位移并将位移信息传输给控制器并在显示屏上予以显示,所述进给调节装置用于控制锯架的升降。与现有技术相比,本锯床的锯切进给控制装置利用光栅尺或磁栅尺等检测和反馈锯架的进给情况并在显示屏上实时显示,便于操作员了解锯切进给情况。多种调节方式能帮助操作员精确控制锯切进给。


