授权公布号:CN212042941U
一种带锯床的锯条承载检测装置
有效
申请
2019-12-26
申请公布
1970-01-01
授权
2020-12-01
预估到期
2029-12-26
| 申请号 | CN201922394220.8 |
| 申请日 | 2019-12-26 |
| 授权公布号 | CN212042941U |
| 授权公告日 | 2020-12-01 |
| 分类号 | B23D55/00;B23Q17/09 |
| 分类 | 机床;不包含在其他类目中的金属加工; |
| 申请人名称 | 浙江斯耐达机械工具有限公司 |
| 申请人地址 | 浙江省丽水市缙云县壶镇镇工业园区兴工路 |
专利法律状态
2020-12-01
授权
状态信息
授权
摘要
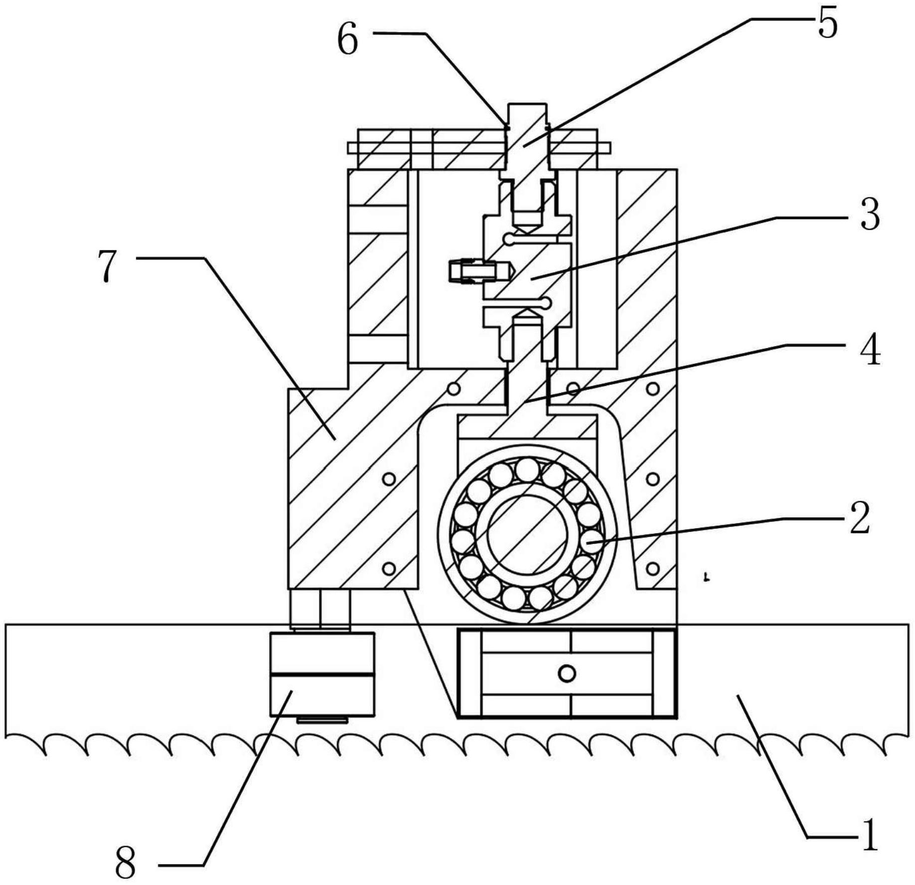
本实用新型提供了一种带锯床的锯条承载检测装置,属于带锯床技术领域。它解决了现有的带锯床由于导向点安装时有存在高低误差,亦或是使用一段时间后导向点会磨损,滑轮会处于架空状态,导致检测数据不准确,造成压力信号数据误差等问题。本实用新型包括检测轴承、压力传感器、导向杆和调节杆,安装孔内设置压力传感器和导向杆,检测轴承转动连接在导向杆的下端,且轮面能抵靠在锯条的锯背上,压力传感器的下端与导向杆连接,其上端与调节杆连接,调节杆与导向臂转动连接。本实用新型的优点在于将导向头与检测轴承相结合,使锯条上一共有两个导向点,保证两个导向点都能接触到锯条,不会出现架空的现象,提高压力信号传输的准确性。


