授权公布号:CN217889715U
一种锯床的减震式导向臂
有效
申请
2022-05-04
申请公布
1970-01-01
授权
2022-11-25
预估到期
2032-05-04
| 申请号 | CN202221074984.4 |
| 申请日 | 2022-05-04 |
| 授权公布号 | CN217889715U |
| 授权公告日 | 2022-11-25 |
| 分类号 | B23D55/08;B23Q17/00;F16F15/02 |
| 分类 | 机床;不包含在其他类目中的金属加工; |
| 申请人名称 | 浙江斯耐达机械工具有限公司 |
| 申请人地址 | 浙江省丽水市缙云县壶镇镇工业园区兴工路 |
专利法律状态
2022-11-25
授权
状态信息
授权
摘要
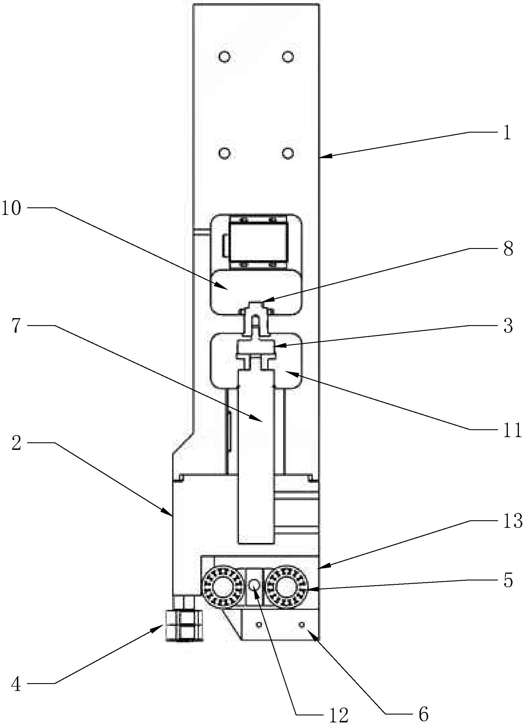
本实用新型提供了一种锯床的减震式导向臂,属于带锯床技术领域。它解决了检测轴承处于架空状态,会导致检测数据不准确等问题。本实用新型包括安装臂、导向头、压力传感器、导向轮、检测轴承,导向头通过一调节组件活动设置在安装臂的底部并能相对安装臂升降,两组导向轮对称设置在锯条的两侧,导向轮的轮面与锯条相贴合,导向头内设有一减震块,两组检测轴承转动设置在减震块的底部,减震块水平转动设置在导向头上,以使两检测轴承的轮面均能抵靠在锯条的锯背上。本实用新型的优点在于将传统的导向臂分成安装臂和导向头两部分,导向头与安装臂活动连接,两者之间有间隙,锯条运行时,通过减震块晃动和导向头上下偏移抵消震动误差、过滤震动。


