授权公布号:CN212274080U
一种高效节能环保的采暖散热器
有效
申请
2020-05-22
申请公布
1970-01-01
授权
2021-01-01
预估到期
2030-05-22
| 申请号 | CN202020868218.X |
| 申请日 | 2020-05-22 |
| 授权公布号 | CN212274080U |
| 授权公告日 | 2021-01-01 |
| 分类号 | F24D13/02;A61L9/20 |
| 分类 | 供热;炉灶;通风; |
| 申请人名称 | 唐山大通金属制品有限公司 |
| 申请人地址 | 河北省唐山市芦台经济开发区海北镇 |
专利法律状态
2021-01-01
授权
状态信息
授权
摘要
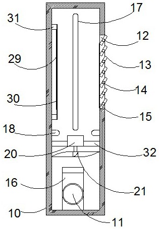
本实用新型公开了一种高效节能环保的采暖散热器,涉及采暖散热器技术领域。本实用新型的结构包括箱体、风机、发热管、外壳、U型磁铁、风车、金属丝、电热丝,所述箱体上设置进风管道和出风通孔,所述风机设置在箱体的空腔底侧壁上,所述风机的入风口对准进风管道,所述发热管固定在箱体空腔中,所述外壳设置在风机和发热管之间,所述外壳内空腔安装有U型磁铁,所述U型磁铁的U型槽间设置有金属丝,所述风车的转子插入外壳底侧壁的通孔中,所述转子与金属丝固定连接,所述风车转动带动转子转动,所述金属丝的两端分别通过导线与电热丝的两端连接,所述电热丝设置在箱体中空腔的左侧壁上。本实用新型有效利用风能,具有高效节能环保的特性。


