授权公布号:CN215946136U
一种用于料盘的提升式上料机构
有效
申请
2021-12-07
申请公布
1970-01-01
授权
2022-03-04
预估到期
2031-12-07
| 申请号 | CN202123045316.7 |
| 申请日 | 2021-12-07 |
| 授权公布号 | CN215946136U |
| 授权公告日 | 2022-03-04 |
| 分类号 | B65G65/23;B66F7/02;B66F7/22;B66F7/28 |
| 分类 | 输送;包装;贮存;搬运薄的或细丝状材料; |
| 申请人名称 | 新乡日升数控轴承装备股份有限公司 |
| 申请人地址 | 河南省新乡市道清路红旗区工业园区文岩路2号 |
专利法律状态
2022-03-04
授权
状态信息
授权
摘要
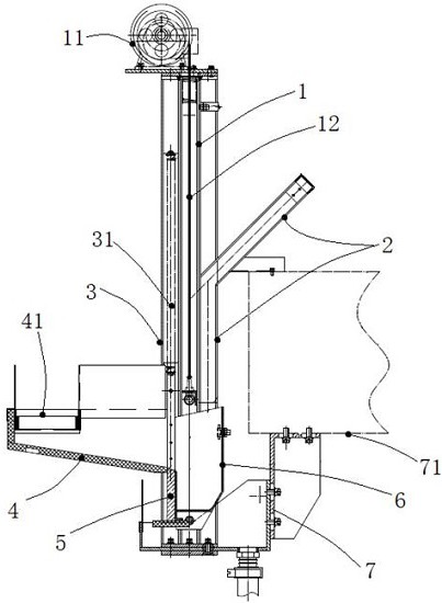
一种用于料盘的提升式上料机构,包括翻转槽和第一导轨,在第一导轨的右侧设置有第二导轨,第二导轨的下端端部为竖向设置,第二导轨的上端端部向其右侧倾斜设置,翻转槽上下往返移动设置,翻转槽的下部铰接在第一导轨上并与第一导轨滑动配合,翻转槽的上部铰接在第二导轨上并与第二导轨滑动配合;在第一导轨下部的左侧设置有接料斗,接料斗的左端设置有第一进料口,接料斗的右侧侧壁为竖向设置的挡料板,挡料板上下移动设置;在翻转槽左侧侧壁的上部开设有第二进料口,当翻转槽向下移动至挡料板处时,挡料板与翻转槽左侧侧壁贴合并跟随翻转槽向下移动。通过翻转槽将钢球提升并将钢球倒进料盘内,实现钢球从主机中转移至料盘进行循环加工。


