授权公布号:CN218801425U
一种气动自动补偿抛光装置
有效
申请
2022-11-29
申请公布
1970-01-01
授权
2023-04-07
预估到期
2032-11-29
| 申请号 | CN202223172537.5 |
| 申请日 | 2022-11-29 |
| 授权公布号 | CN218801425U |
| 授权公告日 | 2023-04-07 |
| 分类号 | B24B29/04;B24B47/20;B24B55/00;B24B41/02;B24B41/00 |
| 分类 | 磨削;抛光; |
| 申请人名称 | 天水星火机床有限责任公司 |
| 申请人地址 | 甘肃省天水市天水经济技术开发区社棠工业园区 |
专利法律状态
2023-04-07
授权
状态信息
授权
摘要
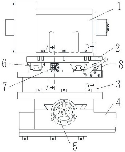
本实用新型公开一种气动自动补偿抛光装置,属于机械加工设备技术领域,该气动自动补偿抛光装置在抛光轮座与基座之间设置底座,基座通过第一手轮驱动底座沿基座滑动,底座与抛光轮座之间分别设置直线导轨和气缸,通过气缸带动抛光轮座沿直线导轨移动,从而实现对抛光轮的实时连续自动进给补偿,避免间断抛光影响阴极辊表面精度。该气动自动补偿抛光装置还设有保护机构,保护机构中通过调节丝母与挡块之间的安全距离,从而限定气缸的自动补偿行程,避免抛光装置与阴极辊碰撞。


