授权公布号:CN216461772U
一种可编程车床尾座套筒控制装置
有效
申请
2021-04-15
申请公布
1970-01-01
授权
2022-05-10
预估到期
2031-04-15
| 申请号 | CN202120774364.0 |
| 申请日 | 2021-04-15 |
| 授权公布号 | CN216461772U |
| 授权公告日 | 2022-05-10 |
| 分类号 | B23B23/00 |
| 分类 | 机床;不包含在其他类目中的金属加工; |
| 申请人名称 | 天水星火机床有限责任公司 |
| 申请人地址 | 甘肃省天水市麦积区天水经济技术开发区社棠工业园区 |
专利法律状态
2022-05-10
授权
状态信息
授权
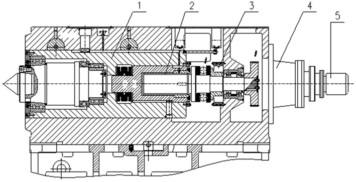
摘要
本实用新型属于车床领域,涉及一种可编程车床尾座套筒控制装置,尾座套筒内设有尾座主轴、丝杠副,丝杠副连接减速机,减速机连接三相异步电机,在丝杠副套有电子压力传感器,电子压力传感器与系统PLC通信连接,系统PLC与三相异步电机控制开关通信连接。本实用新型的有益效果:解决了以前尾座套筒快速移动结构的缺点,实现了尾座套筒伸缩的可编程自动控制,降低了操作者的劳动强度,提高了工作效率,也保护了尾座套筒内部的机械结构。


