授权公布号:CN216483996U
一种轨道车轮测量装置
有效
申请
2021-04-15
申请公布
1970-01-01
授权
2022-05-10
预估到期
2031-04-15
| 申请号 | CN202120774391.8 |
| 申请日 | 2021-04-15 |
| 授权公布号 | CN216483996U |
| 授权公告日 | 2022-05-10 |
| 分类号 | G01M17/10;G01B21/10;G01B21/02 |
| 分类 | 测量;测试; |
| 申请人名称 | 天水星火机床有限责任公司 |
| 申请人地址 | 甘肃省天水市麦积区天水经济技术开发区社棠工业园区 |
专利法律状态
2022-05-10
授权
状态信息
授权
摘要
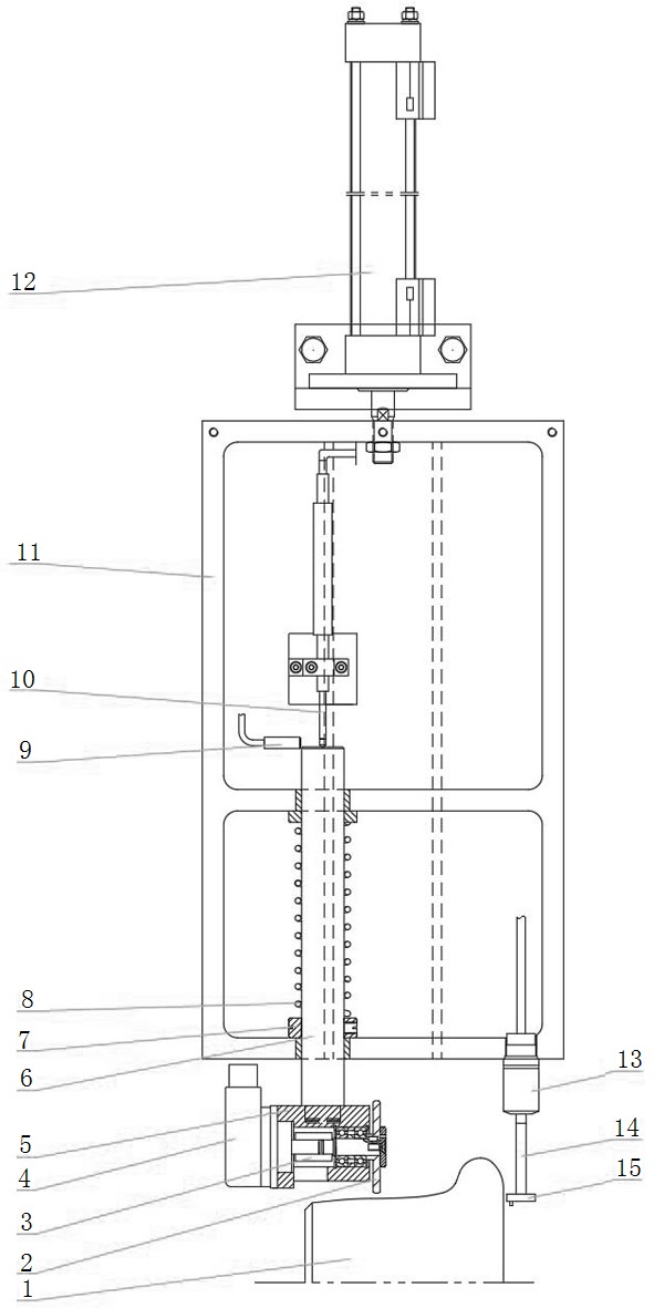
本实用新型是一种轨道车轮测量装置,包括车轮直径测量组件、车轮踏面圆度测量组件、车轮端面跳动测量组件、传动连接组件,车轮直径测量组件为长度计,车轮踏面圆度测量组件含有支撑座、旋转编码器、联轴器、测量滚轮,车轮端面跳动测量组件含有测头、杆、测量头,传动连接组件含有气缸、滑座、弹簧、轴,气缸固定于工作台,气缸活动杆端头连接滑座,长度计固定在滑座上,长度计测量头对应轴,轴设在滑座的轴孔中,支撑座用于连接支撑旋转编码器、联轴器、测量滚轮,测量滚轮连接有中心轴,旋转编码器转轴与中心轴通过联轴器连接,测头固定在滑座上,测头连接杆,杆连接测量头。有益效果:工件测量直径调整范围大,测量效率高,操作方便。


