授权公布号:CN217596611U
一种定位销式分度定位装置
有效
申请
2022-08-12
申请公布
1970-01-01
授权
2022-10-18
预估到期
2032-08-12
| 申请号 | CN202222120934.1 |
| 申请日 | 2022-08-12 |
| 授权公布号 | CN217596611U |
| 授权公告日 | 2022-10-18 |
| 分类号 | B23Q16/06 |
| 分类 | 机床;不包含在其他类目中的金属加工; |
| 申请人名称 | 天水星火机床有限责任公司 |
| 申请人地址 | 甘肃省天水市天水经济技术开发区社棠工业园区 |
专利法律状态
2022-10-18
授权
状态信息
授权
摘要
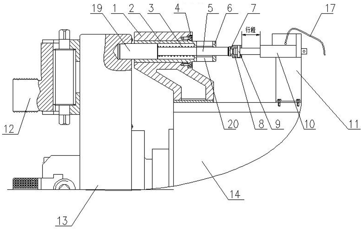
本实用新型公开了一种定位销式分度定位装置,属于机械加工技术领域,以解决手动定位销式分度定位装置用于机床或其它较大设备上时手工操作繁琐安全性低的问题。包括设在主轴箱体上的卡盘和分度定位轴,卡盘在主传动系统的驱动下随从主轴可旋转;卡盘上设有至少两个分度定位孔,分度定位轴一端活动设在任一分度定位孔中;分度定位轴另一端连接有电动推杆。本实用新型结构简单,操作方便,应用可靠,改造加工成本低。除了可应用到机床行业,也可应用于其他行业中,来实现简易分度定位或锁紧。


