授权公布号:CN218855633U
一种用于数控管子车床的定长装置
有效
申请
2022-11-17
申请公布
1970-01-01
授权
2023-04-14
预估到期
2032-11-17
| 申请号 | CN202223050406.X |
| 申请日 | 2022-11-17 |
| 授权公布号 | CN218855633U |
| 授权公告日 | 2023-04-14 |
| 分类号 | B23B25/00;B23B25/06 |
| 分类 | 机床;不包含在其他类目中的金属加工; |
| 申请人名称 | 天水星火机床有限责任公司 |
| 申请人地址 | 甘肃省天水市天水经济技术开发区社棠工业园区 |
专利法律状态
2023-04-14
授权
状态信息
授权
摘要
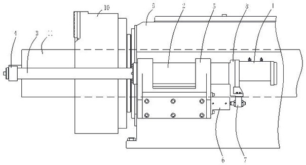
本实用新型公开一种用于数控管子车床的定长装置,属于定长装置技术领域,该定长装置设置于主轴箱体一侧,设有摆动油缸,摆动油缸通过转轴带动挡板由初始位置移动至主轴前端面,以限位由主轴孔伸出的管状工件,无需人工反复测量定长,大幅降低工人工作量,提升管状工件的加工效率,该定长装置还设有水平伸缩装置和连接件,水平伸缩装置通过连接件带动套筒水平移动,使挡板与管状工件分离,避免挡板移动复位过程中与管状工件接触,保证管状工件定长的精准度。


