授权公布号:CN215747725U
一种滑枕结构
有效
申请
2021-06-30
申请公布
1970-01-01
授权
2022-02-08
预估到期
2031-06-30
| 申请号 | CN202121473839.9 |
| 申请日 | 2021-06-30 |
| 授权公布号 | CN215747725U |
| 授权公告日 | 2022-02-08 |
| 分类号 | B23Q1/01;B23Q11/00 |
| 分类 | 机床;不包含在其他类目中的金属加工; |
| 申请人名称 | 武汉重型机床集团有限公司 |
| 申请人地址 | 湖北省武汉市东湖新技术开发区佛祖岭一路3号 |
专利法律状态
2022-02-08
授权
状态信息
授权
摘要
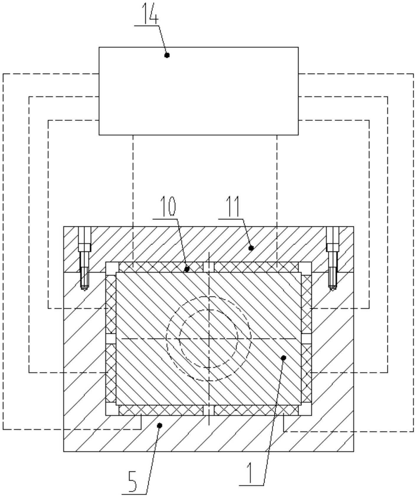
本实用新型公开了一种滑枕结构,包括滑枕、滑座、油缸、上盖,所述滑枕安装在滑座和上盖组成的矩形导轨内,滑座和上盖的导轨为闭式恒流静压导轨,导轨面上安装有静压导轨板,油缸安装在滑枕内,并且油缸的缸体与滑枕固定连接,该油缸的活塞杆的端部穿过滑座并与滑座连接,前述活塞杆的外端面设有两个油孔,其中一个油孔贯穿整个活塞杆,与油缸的无杆腔连通,另一个油孔从活塞杆的端面起,延伸到活塞杆的侧面,与油缸的有杆腔连通。该滑枕由油缸驱动,结构紧凑,驱动力大。


