授权公布号:CN219013272U
一种高刚度伞齿轮传动轴结构
有效
申请
2022-08-30
申请公布
1970-01-01
授权
2023-05-12
预估到期
2032-08-30
| 申请号 | CN202222292681.6 |
| 申请日 | 2022-08-30 |
| 授权公布号 | CN219013272U |
| 授权公告日 | 2023-05-12 |
| 分类号 | F16H1/14;F16H57/023;F16H57/021 |
| 分类 | 工程元件或部件;为产生和保持机器或设备的有效运行的一般措施;一般绝热; |
| 申请人名称 | 武汉重型机床集团有限公司 |
| 申请人地址 | 湖北省武汉市东湖新技术开发区佛祖岭一路3号 |
专利法律状态
2023-05-12
授权
状态信息
授权
摘要
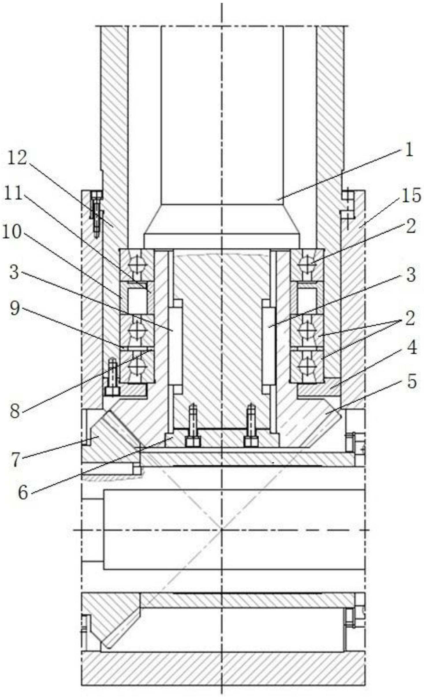
本实用新型公开了一种高刚度伞齿轮传动轴结构,包括长轴、圆弧伞齿轮、压盖、轴承、法兰和轴承座,所述圆弧伞齿轮包括第一圆弧伞齿轮和第二圆弧伞齿轮,第一圆弧伞齿轮套设在长轴的一端,并且长轴的端面处设有压盖,所述长轴穿设在轴承座内,并且第一圆弧伞齿轮与轴承座之间设有若干轴承,轴承之间通过轴承垫隔开,轴承座端部设有用于固定轴承的法兰,第二圆弧伞齿轮与第一圆弧伞齿轮啮合,并连接到动力端。在长距离传动中,即可提高轴的传动刚度,又可提高圆弧伞齿轮加工工艺性的传动结构,且拆装维护方便。


