授权公布号:CN113458212B
手动弯管设备及其弯管方法
有效
申请
2021-07-30
申请公布
2021-10-01
授权
2023-05-02
预估到期
2041-07-30
| 申请号 | CN202110875955.1 |
| 申请日 | 2021-07-30 |
| 申请公布号 | CN113458212A |
| 申请公布日 | 2021-10-01 |
| 授权公布号 | CN113458212B |
| 授权公告日 | 2023-05-02 |
| 分类号 | B21D11/18;B21D11/22 |
| 分类 | 基本上无切削的金属机械加工;金属冲压; |
| 申请人名称 | 浙江金马逊智能制造股份有限公司 |
| 申请人地址 | 浙江省丽水市缙云县新碧街道新元路6号 |
专利法律状态
2023-05-02
授权
状态信息
授权
2021-10-01
公布
状态信息
公布
摘要
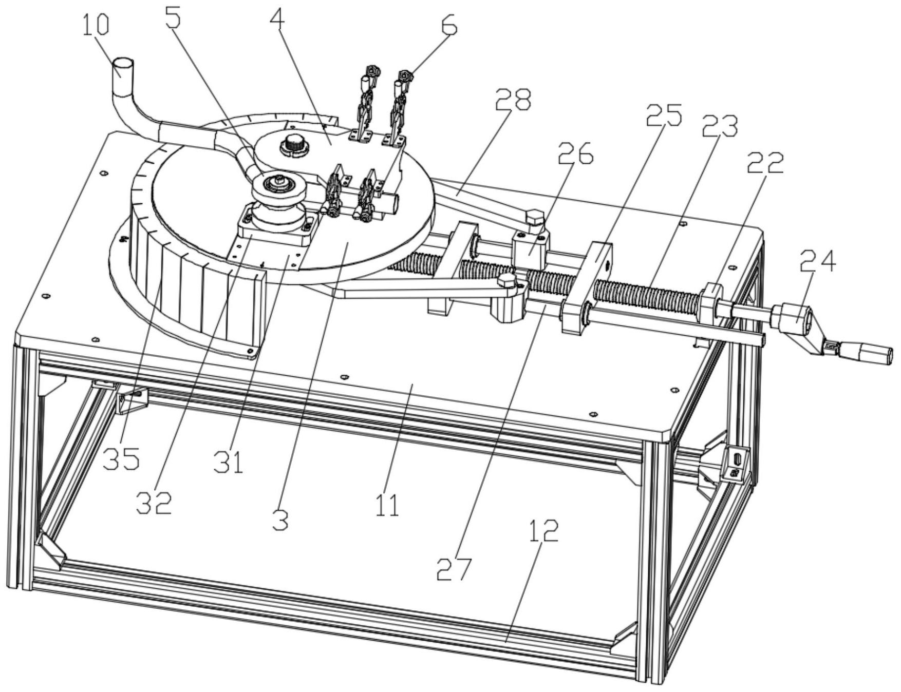
本发明公开了一种手动弯管设备及其弯管方法;包括工作台、滚轮和轮模座,还包括待弯曲的管件、转盘、用于驱动转盘转动的驱动机构和多个快速夹,转盘转动设置在工作台上方,轮模座固定设置在转盘上方,转盘上开设有两个调节槽,两个调节槽对称设置在轮模座前后两侧,滚轮可拆卸的固定在任意一个调节槽内,多个快速夹可以将管件固定在轮模座的前侧或后侧,轮模座的左侧面为圆弧面,滚轮围绕轮模座左侧圆弧面的轴线运动;驱动机构包括手柄、丝杆、滑块和传动臂,手柄固定在丝杆的右端,丝杆转动设置在工作台上方,丝杆转动时驱动滑块移动,传动臂一端铰接在滑块上,传动臂另一端铰接在转盘的底部;这样可以更加省力,更加精准的完成管件的弯制。


