授权公布号:CN217469490U
终端供电装置
有效
申请
2022-04-01
申请公布
1970-01-01
授权
2022-09-20
预估到期
2032-04-01
| 申请号 | CN202220770360.X |
| 申请日 | 2022-04-01 |
| 授权公布号 | CN217469490U |
| 授权公告日 | 2022-09-20 |
| 分类号 | H02J7/00;H02J50/10 |
| 分类 | 发电、变电或配电; |
| 申请人名称 | 臻迪科技股份有限公司 |
| 申请人地址 | 山东省威海市南海新区阳光路40号蓝色创业谷E区 |
专利法律状态
2022-09-20
授权
状态信息
授权
摘要
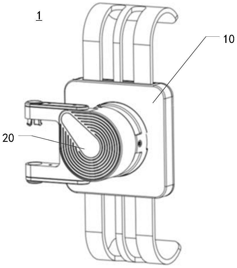
本实用新型提供一种终端供电装置,终端具有无线充电接收装置,包括固定机构和底座,其中固定机构能够固定终端,固定机构内设有无线充电发射线圈,无线充电发射线圈配置成能够向无线充电接收装置供电,底座包括第一连接件,第一连接件与固定机构可拆卸连接,底座还包括电源,电源配置成能够与无线充电发射装置电连接。本实用新型的实施例提供了一种终端供电装置,在底座内设置有电源,并利用固定机构向终端电子产品供电,在具体的实施例中,底座可以是实现终端电子产品作用的其他配合结构,使电子产品能够在充电的同时使用。本实用新型的实施例中固定机构还利用无线充电发射线圈向终端供电,避免占据数据接口,尽量减少对终端使用的影响。


