授权公布号:CN205995695U
止滴器
有效
申请
2016-08-30
申请公布
1970-01-01
授权
2017-03-08
预估到期
2026-08-30
| 申请号 | CN201620999790.3 |
| 申请日 | 2016-08-30 |
| 授权公布号 | CN205995695U |
| 授权公告日 | 2017-03-08 |
| 分类号 | B05B15/00 |
| 分类 | 一般喷射或雾化;对表面涂覆液体或其他流体的一般方法〔2〕; |
| 申请人名称 | 北方天途航空技术发展(北京)有限公司 |
| 申请人地址 | 北京市昌平区科技园区创新路7号2号楼2882号 |
专利法律状态
2017-03-08
授权
状态信息
授权
摘要
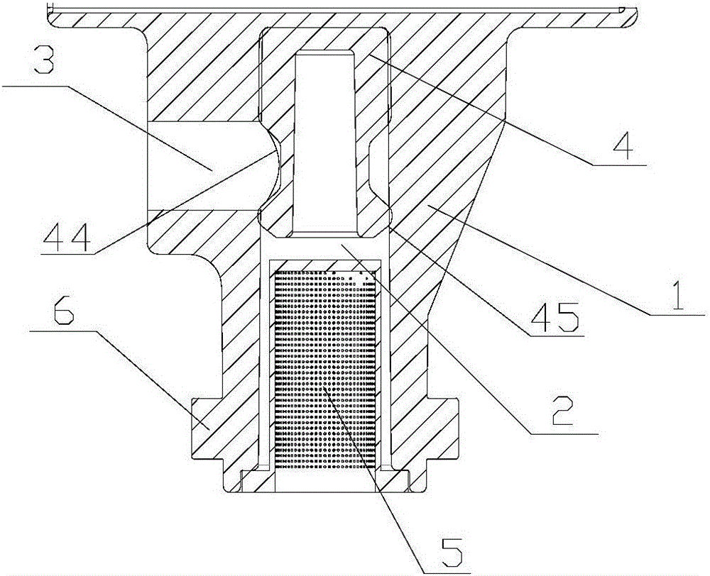
本实用新型公开了一种止滴器。该止滴器包括:壳体,壳体为中空结构,中空结构的内壁形成液体通道,壳体的第一端为封闭结构,壳体的第二端设置有连通液体通道的开口,壳体的侧面设置有连通液体通道的通孔,通孔为止滴器的进液口,述壳体第二端的开口为止滴器的出液口;阀芯,阀芯设置于液体通道内,阀芯包括上部、中部和下部,上部固定于液体通道内,下部和中部采用弹性材料制成,中部的外表面上设置有沿周向的凹槽,凹槽的开口与通孔相连通,下部压紧液体通道。将该实用新型的止滴器用于植保无人机中,能够阻止药液在非喷药状态时从喷头滴出,避免药液浪费。


