授权公布号:CN203461095U
直升飞机风压方向舵
失效
申请
2013-07-29
申请公布
1970-01-01
授权
2014-03-05
预估到期
2023-07-29
| 申请号 | CN201320455570.0 |
| 申请日 | 2013-07-29 |
| 授权公布号 | CN203461095U |
| 授权公告日 | 2014-03-05 |
| 分类号 | B64C9/00 |
| 分类 | 飞行器;航空;宇宙航行; |
| 申请人名称 | 重庆金泰航空工业有限公司 |
| 申请人地址 | 重庆市巴南区界石镇石桂大道18号10幢1-2 |
专利法律状态
2014-03-05
授权
状态信息
授权
摘要
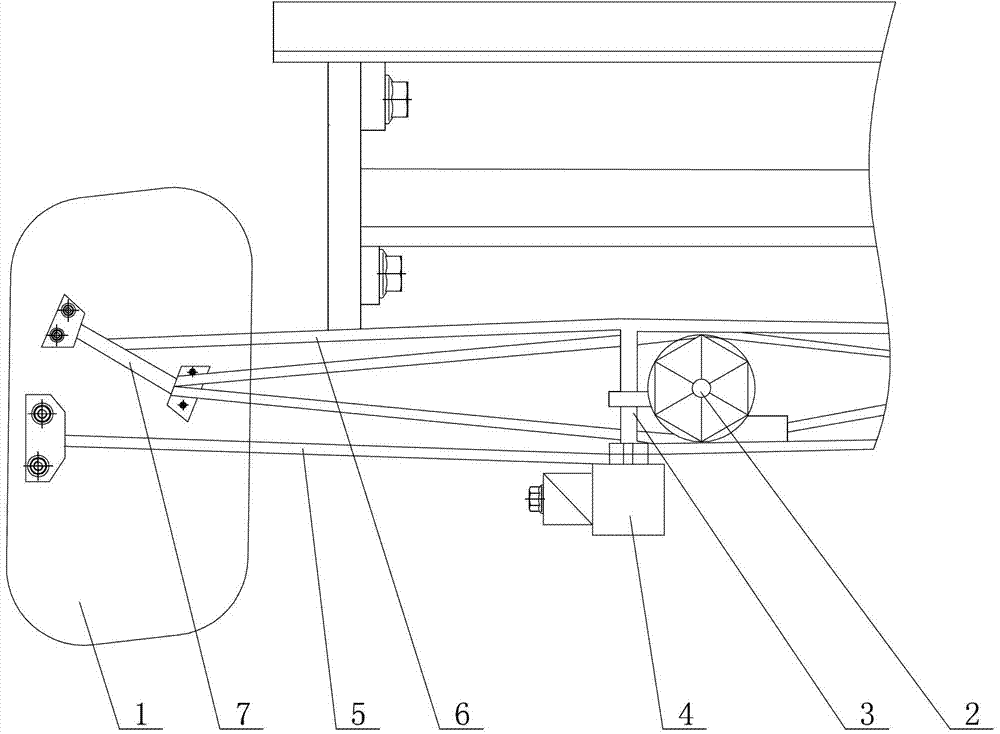
本实用新型公开了一种直升飞机风压方向舵,包括尾翼(1)、尾梁(2)、液压传动杆(3)、摇臂(4)、连杆(5)、支撑架(6)和铰链轴(7),所述支撑架(6)沿横向布置,并固定于尾梁(2)上,在支撑架(6)的两端通过铰链轴(7)连接尾翼(1),所述尾梁(2)的尾部安装液压传动杆(3),该液压传动杆(3)上设有摇臂(4),所述摇臂(4)上分别铰接有两根连杆(5),两根连杆(5)与两个尾翼(1)一一对应,所述尾翼(1)为平行四边形平板结构,并由碳纤维制成。本实用新型通过更改尾翼的造型及材质,能够有效提高直升飞机转向的效果,并确保尾翼不发生损坏,具有设计巧妙、结构简单、改造容易、改造成本低等特点。


