授权公布号:CN212637172U
一种副仪表板安装支架及汽车
失效
申请
2020-07-07
申请公布
1970-01-01
授权
2021-03-02
预估到期
2030-07-07
| 申请号 | CN202021329051.6 |
| 申请日 | 2020-07-07 |
| 授权公布号 | CN212637172U |
| 授权公告日 | 2021-03-02 |
| 分类号 | B60K37/00 |
| 分类 | 一般车辆; |
| 申请人名称 | 江铃汽车集团有限公司 |
| 申请人地址 | 江西省南昌市青云谱区迎宾北大道666号 |
专利法律状态
2023-07-14
专利权的终止
状态信息
未缴年费专利权终止;IPC(主分类):B60K 37/00;专利号:ZL2020213290516;申请日:20200707;授权公告日:20210302;终止日期:
2023-07-14
专利权的终止
状态信息
未缴年费专利权终止;IPC(主分类):B60K37/00;申请日:20200707;授权公告日:20210302
2021-03-02
授权
状态信息
授权
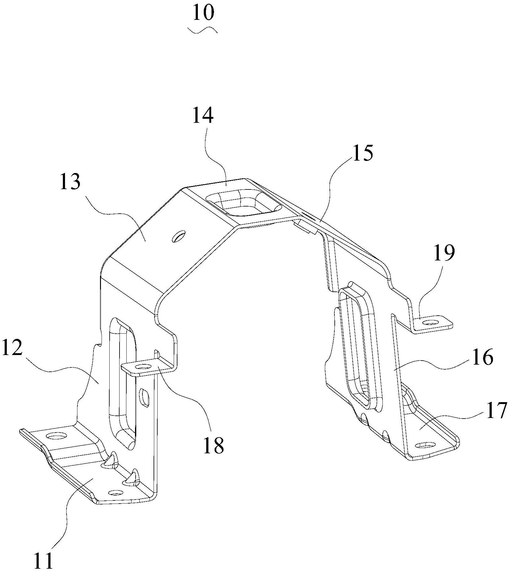
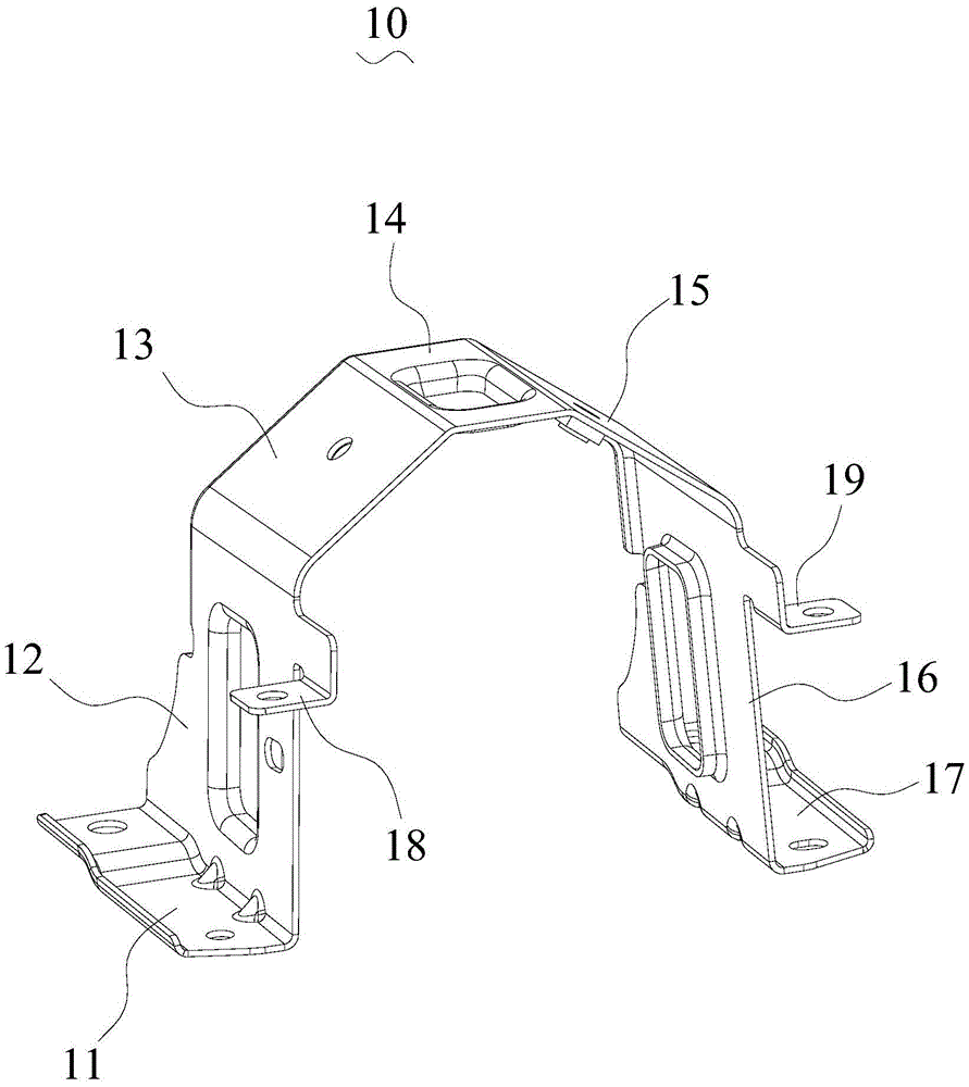
摘要
本实用新型提供了一种副仪表板安装支架及汽车,该副仪表板安装支架包括依次连接的第一底板、第一侧板、第一折板、顶板、第二折板、第二侧板、第二底板,以及与第一侧板固定连接的第一中板、与第二侧板固定连接的第二中板,副仪表板安装支架为轴对称结构,第一底板上设有用于将副仪表板安装支架与车身连接的第一安装孔,第一侧板与第一底板垂直、并向第一底板上方延伸,第一中板上设有用于与风道配合安装的第二安装孔,第一折板向第一侧板的斜上方延伸,第一折板上设有用于将副仪表板固定到副仪表板安装支架上的第三安装孔。安装此种副仪表板安装支架的汽车能够与多个零部件同时装配,且安装方式简单,安装结构稳定。


