授权公布号:CN215397246U
纸板自动分片机
有效
申请
2021-05-17
申请公布
1970-01-01
授权
2022-01-04
预估到期
2031-05-17
| 申请号 | CN202121055834.4 |
| 申请日 | 2021-05-17 |
| 授权公布号 | CN215397246U |
| 授权公告日 | 2022-01-04 |
| 分类号 | B31B50/74;B31B50/06;B31B50/02;B31B50/00;B31B50/98 |
| 分类 | 纸品制作;纸的加工; |
| 申请人名称 | 山东信川机械有限责任公司 |
| 申请人地址 | 山东省潍坊市安丘市新安街道信川街6号 |
专利法律状态
2022-01-04
授权
状态信息
授权
摘要
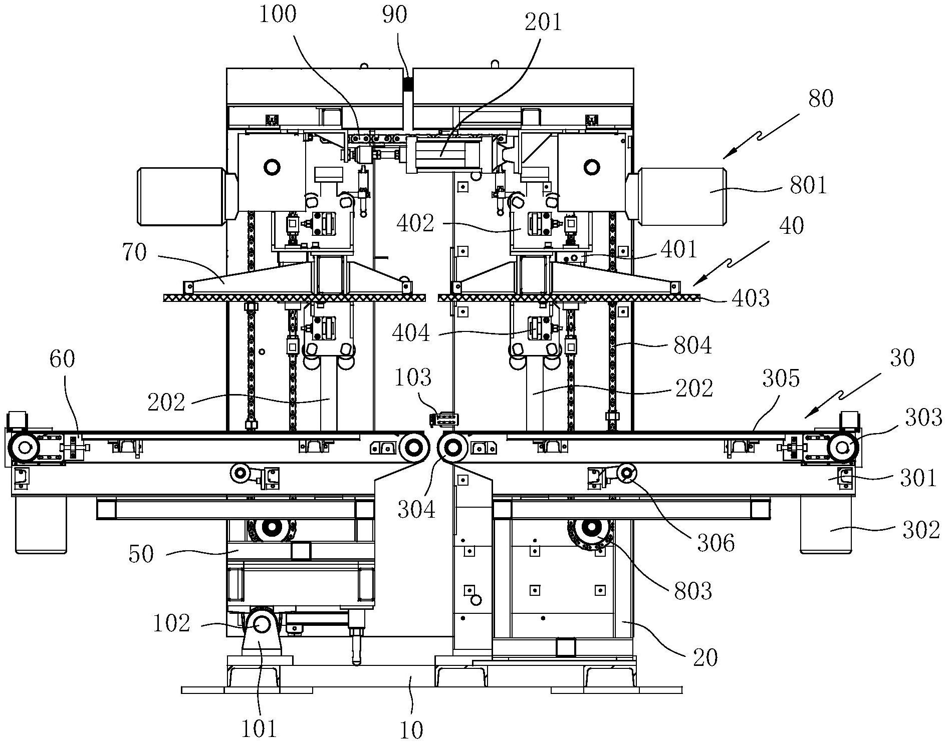
本实用新型公开了一种纸板自动分片机,涉及纸箱生产设备技术领域。纸板自动分片机,包括机座、固定部和摆动部,所述固定部包括设置在所述机座上的固定架,设置在所述固定架下部的进料单元,竖向移动设置在所述固定架上且位于所述进料单元上方的进料压料单元,以及铰接在所述固定架上部的伸缩动力装置;所述摆动部包括铰接在所述机座上的摆动架,设置在所述摆动架下部的出料单元,以及竖向移动设置在所述摆动架上且位于所述出料单元上方的出料压料单元,所述伸缩动力装置的动力输出部与所述摆动架连接。本实用新型纸板自动分片机实现了自动化分片,提高了生产效率,降低了劳动强度。


