授权公布号:CN209336191U
纸碗机冲底机构
有效
申请
2018-12-21
申请公布
1970-01-01
授权
2019-09-03
预估到期
2028-12-21
| 申请号 | CN201822156275.0 |
| 申请日 | 2018-12-21 |
| 授权公布号 | CN209336191U |
| 授权公告日 | 2019-09-03 |
| 分类号 | B31D5/00 |
| 分类 | 纸品制作;纸的加工; |
| 申请人名称 | 浙江新立机械有限公司 |
| 申请人地址 | 浙江省温州市瑞安市飞云街道远东路9号 |
专利法律状态
2019-09-03
授权
状态信息
授权
摘要
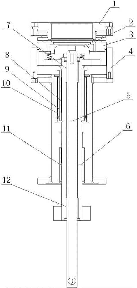
本实用新型公开了纸碗机冲底机构,包括上冲刀、下冲刀和顶杆头,下冲刀作上下活动设置由外推杆进行推动,顶杆头作上下活动设置由内推杆进行推动,内推杆活动设于外推杆的内孔,内推杆的活动由上下润滑铜套进行导向,其特征在于:外推杆外设有套筒形状的导向座,导向座固定安装,导向座的内孔设有上下导向组件对外推杆的上下活动进行导向。本实用新型外形尺寸小,利用它可设计出结构紧凑的纸碗机。


