授权公布号:CN106027845B
石材大板扫描仪
有效
申请
2016-06-28
申请公布
2016-10-12
授权
2018-07-03
预估到期
2036-06-28
| 申请号 | CN201610502935.9 |
| 申请日 | 2016-06-28 |
| 申请公布号 | CN106027845A |
| 申请公布日 | 2016-10-12 |
| 授权公布号 | CN106027845B |
| 授权公告日 | 2018-07-03 |
| 分类号 | H04N1/04;H04N5/225 |
| 分类 | 电通信技术; |
| 申请人名称 | 云浮市科特机械有限公司 |
| 申请人地址 | 广东省云浮市都杨镇佛山(云浮)产业转移工业园 |
专利法律状态
2018-07-03
授权
状态信息
授权
2016-11-09
实质审查的生效
状态信息
实质审查的生效IPC(主分类):H04N 1/04申请日:20160628
2016-10-12
公布
状态信息
公开
摘要
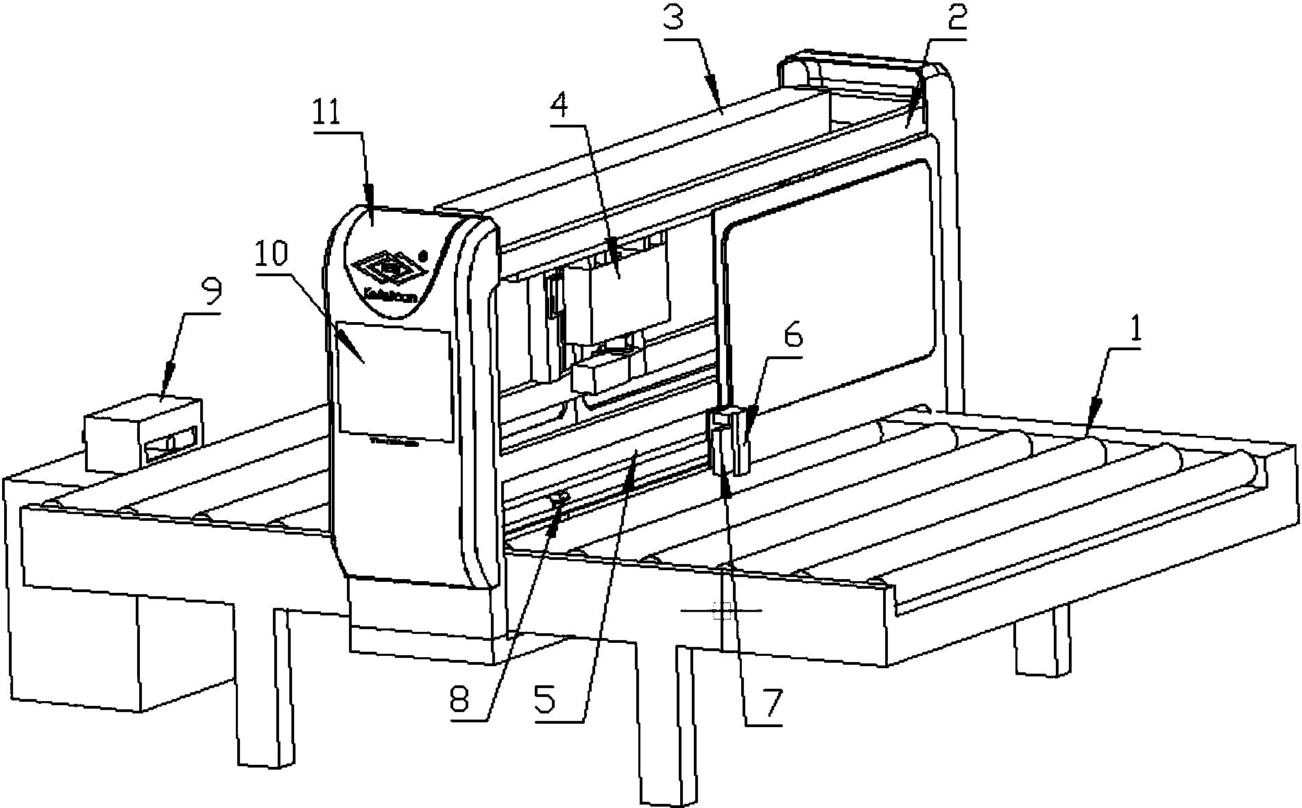
本发明公开了一种石材大板扫描仪,采用4个特殊的高清相机,采集宽度2200mm、长度超过3000mm的图像,所得到的图像从适合网络传输的50dpi到可以用于打印、印刷的300dpi都可以,所采集到的图像可以选择不同的格式储存,如JPEG、TIFF等,这些文件格式与分辨率的组合,可以满足各种需要。同时,本扫描仪还具有对石材大板进行测量长度、光泽度,读取条形码、二维码和喷码功能。


