授权公布号:CN206914833U
石材贴标签装置
有效
申请
2017-05-18
申请公布
1970-01-01
授权
2018-01-23
预估到期
2027-05-18
| 申请号 | CN201720551468.9 |
| 申请日 | 2017-05-18 |
| 授权公布号 | CN206914833U |
| 授权公告日 | 2018-01-23 |
| 分类号 | B65C9/18;B65C9/26 |
| 分类 | 输送;包装;贮存;搬运薄的或细丝状材料; |
| 申请人名称 | 云浮市科特机械有限公司 |
| 申请人地址 | 广东省云浮市都杨镇佛山(云浮)产业转移工业园 |
专利法律状态
2018-01-23
授权
状态信息
授权
摘要
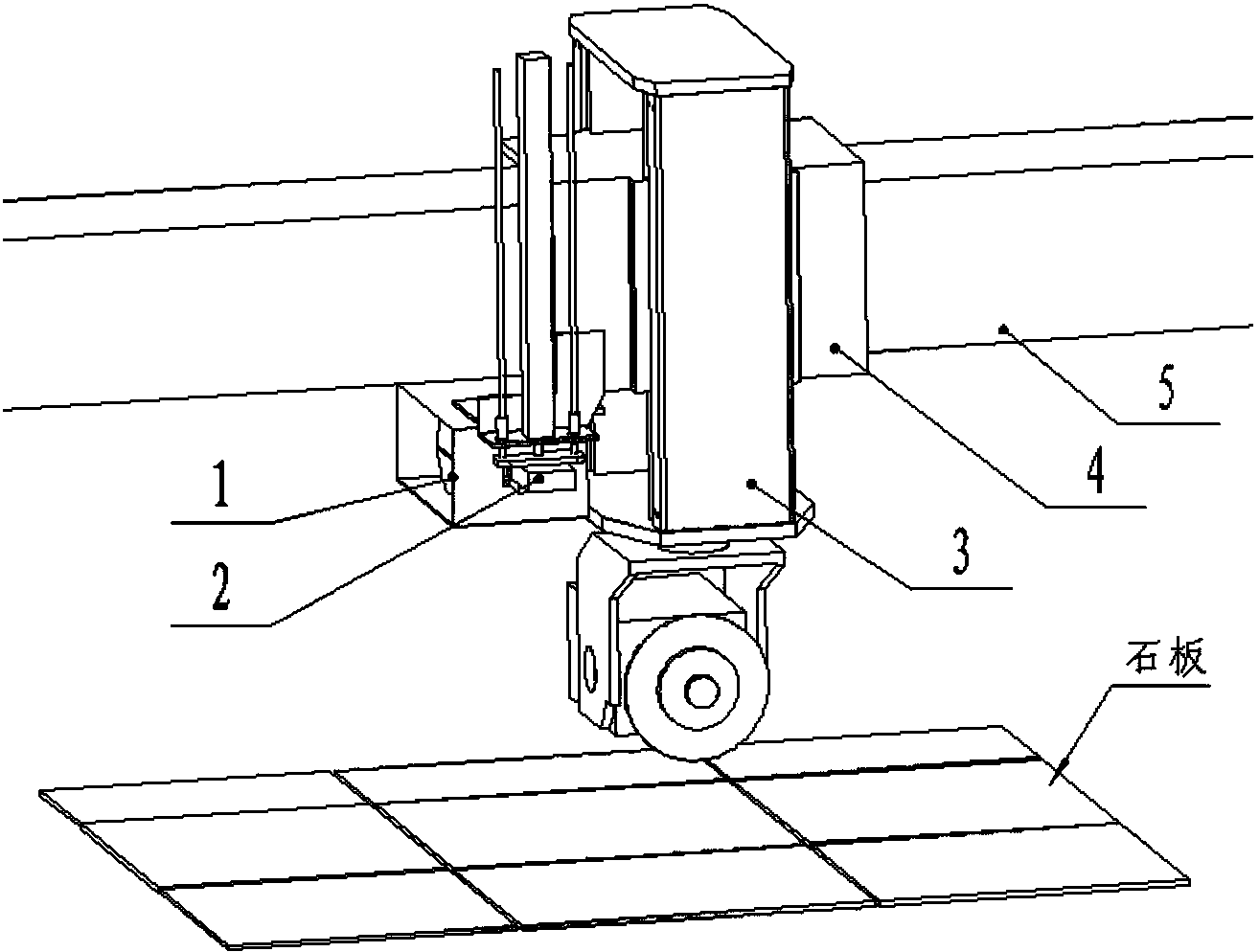
本实用新型公开了一种石材贴标签装置,包括机头部件,还包括安装在所述机头部件上的标签打印部件和标签贴合部件,所述标签打印部件包括用于打印标签纸的标签机和用于回收卷纸的电动卷纸器,所述标签贴合组件包括第一气缸、第二气缸和真空吸盘,第二气缸安装在第一气缸的线性活动端,真空吸盘安装在第二气缸的线性活动端,真空吸盘在第二气缸的带动下将标签纸从标签打印部件中吸出、且在第一气缸的带动下将标签纸贴合在石板上。本实用新型的贴标签装置,在对石板进行切割的同时自动将标签贴在石板上,降低了石材加工的成本,减少贴标签的时间,极大地提高了工作效率。


