授权公布号:CN213263209U
一种用于玻璃切割机自动贴标系统的除尘机构
有效
申请
2020-09-29
申请公布
1970-01-01
授权
2021-05-25
预估到期
2030-09-29
| 申请号 | CN202022199815.0 |
| 申请日 | 2020-09-29 |
| 授权公布号 | CN213263209U |
| 授权公告日 | 2021-05-25 |
| 分类号 | B65C9/00;B08B1/04;B08B1/00 |
| 分类 | 输送;包装;贮存;搬运薄的或细丝状材料; |
| 申请人名称 | 安徽精菱玻璃机械有限公司 |
| 申请人地址 | 安徽省蚌埠市禹会区高新区燕南路1285号 |
专利法律状态
2021-05-25
授权
状态信息
授权
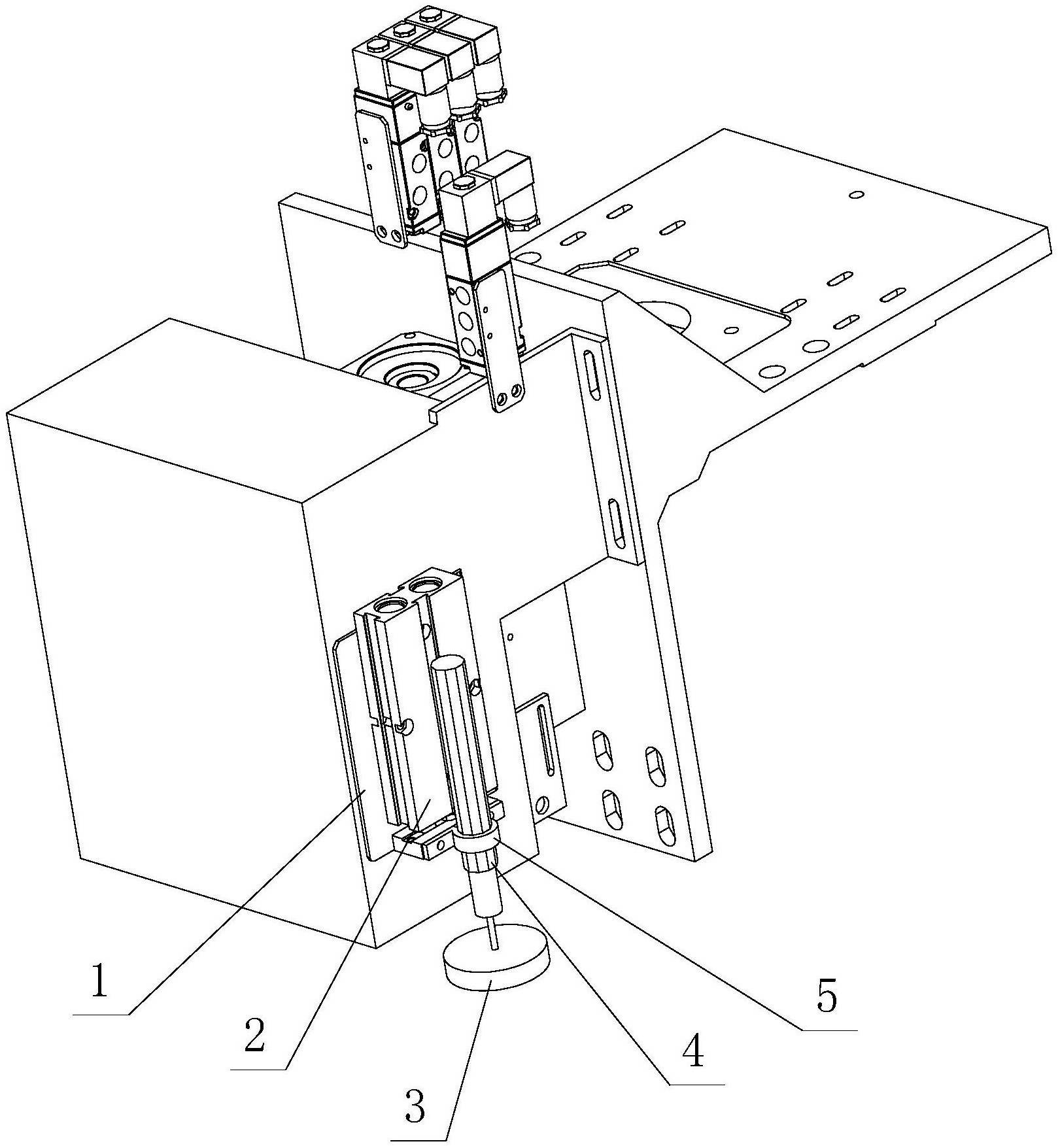
摘要
本实用新型涉及一种用于玻璃切割机自动贴标系统的除尘机构,包括双导杆气缸、气动笔、固定夹和毛刷头组成,所述双导杆气缸的缸体固定在打标机背板的表面,所述气动笔通过固定夹竖直固定在双导杆气缸的固定挡板上,所述毛刷头固定在气动笔下端。本实用新型的有益效果是:采用本结构的技术方案,配件成本合理,机构精准定位,效率高,除尘效果好,提高了自动贴标的可靠性及安全性。


